EasyManua.ls Logo

Sony CDP-EX770 - Page 8

Sony CDP-EX770
143 pages
Print Icon
To Next Page IconTo Next Page
To Next Page IconTo Next Page
To Previous Page IconTo Previous Page
To Previous Page IconTo Previous Page
Loading...
– 6 –
SECTION 2
DISASSEMBLY
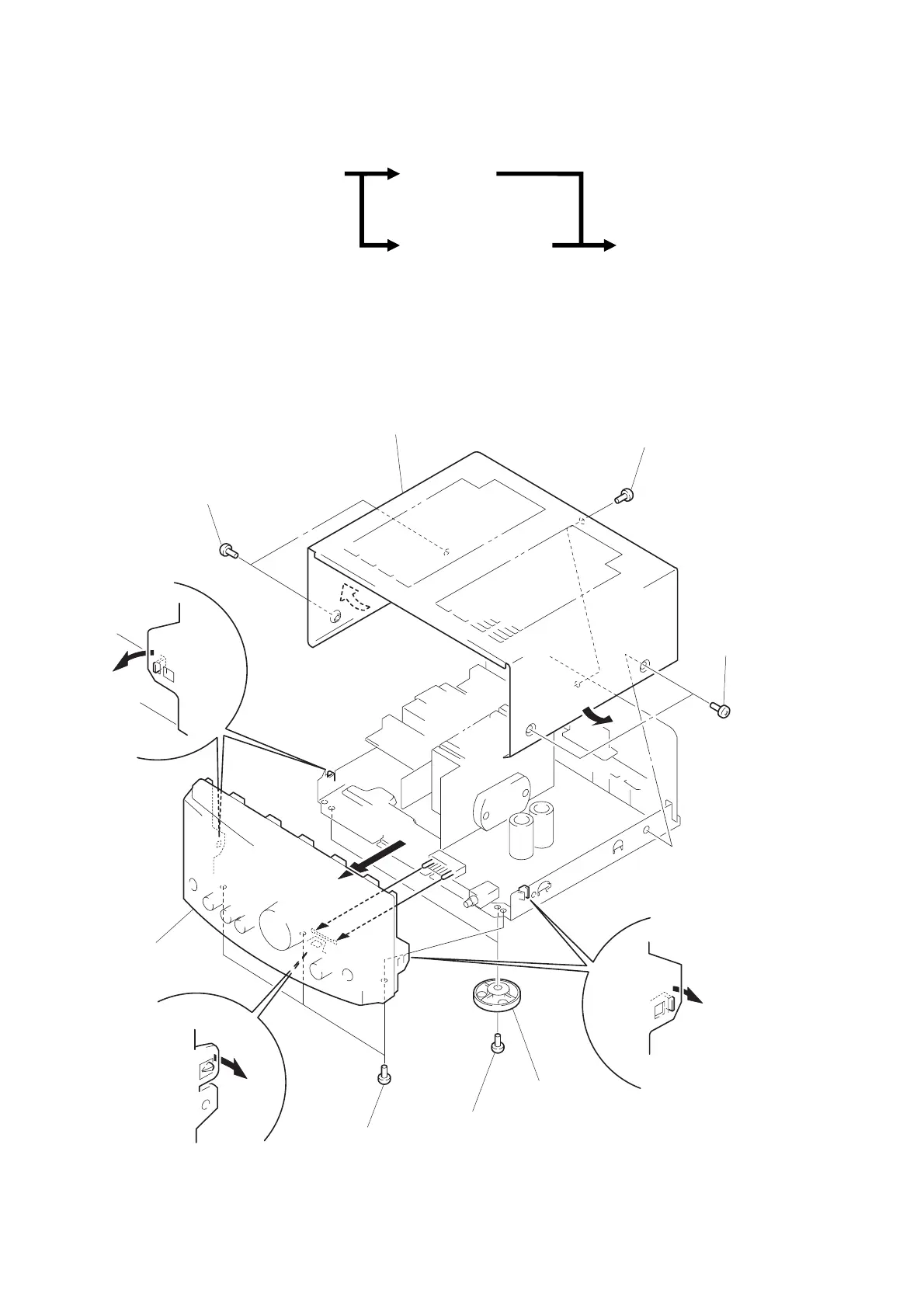
This set can be disassembled in the order shown below.
CONNECTOR BOARD
(Page 7)
BACK PANEL
(Page 7)
MAIN BOARD
(Page 8)
CASE, FRONT PANEL ASS’Y
(Page 6)
1
screw (BVTT3
×
8)
2
two screws
(case 3 TP2)
2
two screws
(case 3 TP2)
3
case
4
two screws
(BVTP3
×
10)
5
two legs (F)
6
three screws
(BVTP3
×
10)
7
claw
7
two claws
7
two claws
8
front panel ass’y
CASE, FRONT PANEL ASS’Y
Note: Follow the disassembly procedure in the numerical order given.

Related product manuals