EasyManua.ls Logo

Sony CDX-51 - Mechanism Deck Section

Sony CDX-51
68 pages
Print Icon
To Next Page IconTo Next Page
To Next Page IconTo Next Page
To Previous Page IconTo Previous Page
To Previous Page IconTo Previous Page
Loading...
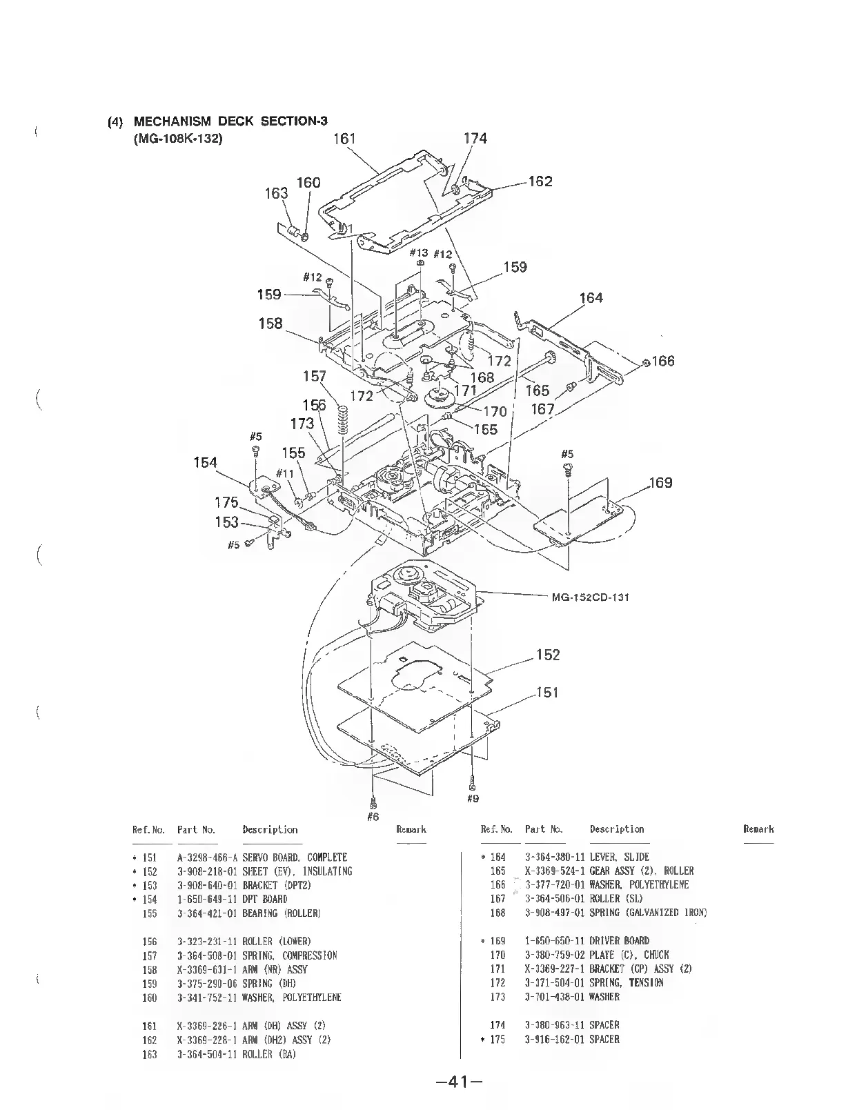
(4)
MECHANISM
DECK
SECTION-3
(MG-108K-132)
161
174
oe
#13
#12
@
Ref.
No.
Part
No.
Description
Remark
Ref.No.
Part
No.
Description
Remark
*
151
A-3298-466-A
SERVO
BOARD,
COMPLETE
*
164
3-364-380-11
LEVER,
SLIDE
*
152
3-908-218-01
SHEET
(EV),
INSULATING
165
X-3369-524-1
GEAR
ASSY
(2),
ROLLER
*
153
3-908-640-01
BRACKET
(DPT2)
166
©
3-377-720-01
WASHER,
POLYETHYLENE
*
154
1-650-649-11
DPT
BOARD
167
3-364-506-01
ROLLER
(SL)
155
3-364-421-01
BEARING
(ROLLER)
168
3-908-497-01
SPRING
(GALVANIZED
IRON)
156
3-323-231-11
ROLLER
(LOWER)
;
*
169
1-650-650-11
DRIVER
BOARD
157
3-364-508-01
SPRING,
COMPRESSION
170
3-380-759-02
PLATE
(C),
CHUCK
158
X-3369-631-1
ARM
(NR)
ASSY
171
X-3369-227-1
BRACKET
(CP)
ASSY
(2)
159
3-375-290-06
SPRING
(DH)
172
3-371-504-01
SPRING,
TENSION
160
3-341-752-11
WASHER,
POLYETHYLENE
173
3-701-438-01
WASHER
161
X-3369-226-1
ARM
(DH)
ASSY
(2)
174
3-380-963-11
SPACER
162
X-3369-228-1
ARM
(DH2)
ASSY
(2)
+175
3-916-162-01
SPACER
163
3-364-504-11
ROLLER
(RA)
—41—

Related product manuals