EasyManua.ls Logo

Sony CDX-51 - Page 47

Sony CDX-51
68 pages
Print Icon
To Next Page IconTo Next Page
To Next Page IconTo Next Page
To Previous Page IconTo Previous Page
To Previous Page IconTo Previous Page
Loading...
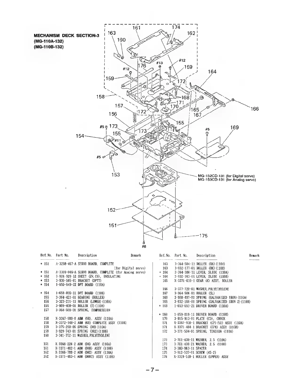
MECHANISM
DECK
SECTION-3
(MG-110A-132)
(MG-110B-132)
Ref.
No.
151
151
152
153
154
154
155
156
156
157
158
158
159
159
160
161
161
162
162
154
161
Remark
Part
No.
Description
‘A-3298-467-A
SERVO
BOARD,
COMPLETE
(for
Digital
servo)
A-3309-046-A
SERVO
BOARD,
COMPLETE
(for
Analog
servo)
3-924-929-12
SHEET
(EV.
CD),
INSULATING
3-930-565-01
BRACKET
(DPTT)
1-650-649-22
DPT
BOARD
(110A)
1-659-820-11
DPT
BOARD
(110B)
3-364-421-01
BEARING
(ROLLER)
3-323-231-11
ROLLER
(LOWER)
(110A)
3-909-408-01
ROLLER
(T)
(110B)
3-364-508-01
SPRING,
COMPRESSION
X-3367-$89-8
ARM
(NR),
ASSY
(110A)
X-3372-148-2
ARM
(KR)
COMPLETE
ASSY
(110B)
3-375-290-06
SPRING
(DH)
(110A)
3-929-743-01
SPRING
(DH2)
(1108)
3+341-752-11
WASHER,
POLYETHYLENE
X-3368-226-2
ARM
(DH)
ASSY
(110A)
X-3371-482-1
ARM
(DHK)
ASSY
(1108)
X-3366-788-2
ARM
(DH2)
ASSY
(110A)
X-3371-483-1
ARM
(DHK2)
ASSY
(110B)
Ref.
No.
163
163
*
164
*
164
165
166
167
168
168
169
169
170
WL
i
172
173
173
174
175
176
Part
No.
3-364-504-11
3-932-177-01
3-364-380-11
3-932-163-01
X-3371-610-1
3-377-720-01
3-364-506-01
3-908-497-01
3-932-166-01
1-650-650-21
1-659-819-11
3-915-913-01
X-3367-910-1
X-3371-484-1
3-371-504-01
3-701-438-11
3-701-438-21
3-380-963-11
3-912-537-01
X-3329-518-1
MG-152CD-131
(for
Digital
servo)
MG-153CD-131
(for
Analog
servo)
Description
Remark
ROLLER
(RA)
(110A)
ROLLER
(RK)
(1108)
LEVER,
SLIDE
(110A)
LEVER,
SLIDE
(110B)
GEAR
(K)
ASSY,
ROLLER
WASHER,
POLYETHYLENE
ROLLER
(SL)
SPRING
(GALVANIZED
IRON)
(110A)
SPRING
(GALVANIZED
IRON
2}
(110B)
DRIVER
BOARD
(110A)
DRIVER
BOARD
(110B)
PLATE
(CD),
CHUCK
BRACKET
(CP) (51)
ASSY
(110A)
BRACKET
(CPK)
ASSY
(110B)
SPRING,
TENSION
(110A)
WASHER,
2.5
(110A)
WASHER,
2.5
(110B)
SPACER
SCREW
(45-2)
ROLLER
(UPPER)
ASSY

Related product manuals