EasyManua.ls Logo

Sony DAV-BC150 - Page 42

Sony DAV-BC150
84 pages
Print Icon
To Next Page IconTo Next Page
To Next Page IconTo Next Page
To Previous Page IconTo Previous Page
To Previous Page IconTo Previous Page
Loading...
42
GB
When playing a VIDEO CD
(without PBC functions) or CD
When playing an MP3
When playing a JPEG
Notes
Depending on the type of disc being played and the
playing mode, the disc information may not be
displayed.
Only alphabetical letters and numbers can be used for
file names. Anything else is displayed as “ ”.
In the following cases, elapsed playing time and
current track remaining time may not be displayed
accurately.
during fast-forward/reverse.
Tips
When playing VIDEO CDs with PBC functions, only
the playing time of the scene is displayed.
The playing time and remaining time of the current
chapter, title, track, scene, or disc will also appear on
your TV screen. See the following section “Checking
the Playing Time and Remaining Time” for details on
how to read this information.
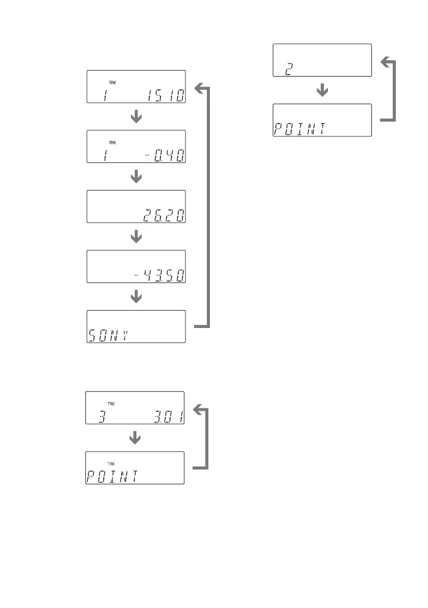
Playing time and current track number
(when playing a CD)
Remaining time of the
current track
Playing time of the disc
Remaining time of the
disc
Disc name
Playing time and current track number
Track (file) name
Current file number
File name

Table of Contents

Other manuals for Sony DAV-BC150

Related product manuals