EasyManua.ls Logo

Sony DCR HC 14 E - Inserting a Scene from a VCR - Insert Editing (DCR-HC15 E Only); Insertion Dune Scène À Partir Dun Magnétoscope - Montage Par Insertion (DCR-HC15 E Uniquement)

Sony DCR HC 14 E
196 pages
Print Icon
To Next Page IconTo Next Page
To Next Page IconTo Next Page
To Previous Page IconTo Previous Page
To Previous Page IconTo Previous Page
Loading...
110
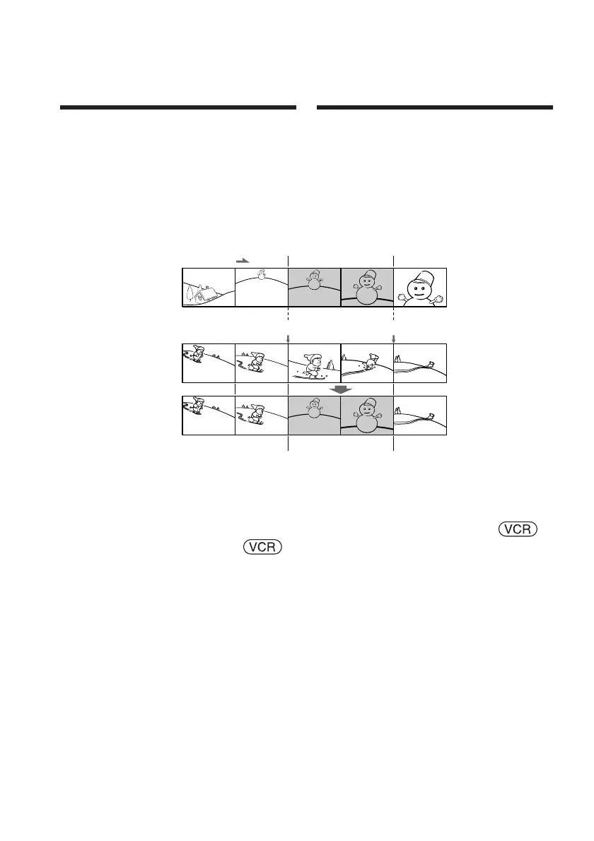
You can insert a new scene with sound from a
VCR onto your originally recorded tape by
specifying the insert start and end points. Use
the Remote Commander for this operation.
Connections are the same as on page 107.
Insert a cassette containing the desired scene to
insert into the VCR.
[A] The tape that contains the scene to be
superimposed
[B] The tape before editing
[C] The tape after editing
The POWER switch should be set to .
Operate by touching the panel.
(1) On the VCR, locate just before the insert
start point [a], then set the VCR to
playback pause.
(2) On your camcorder, locate the insert
end point [c], then set it to playback
pause.
(3) Press ZERO SET MEMORY on the
Remote Commander. The ZERO SET
MEMORY indicator flashes and the end
point of the insert is stored in memory.
The tape counter shows “0:00:00.”
Inserting a scene from a
VCR – Insert editing (DCR-
HC15E only)
[a]
[b]
[c]
[A]
[B]
[C]
Insertion d’une scène à
partir d’un magnétoscope
– Montage par insertion
(DCR-HC15E uniquement)
Vous pouvez insérer une nouvelle scène à
partir d’un magnétoscope sur la cassette
enregistrée d’avance en spécifiant les points de
début et de fin d’insertion. Utilisez la
télécommande pour effectuer cette opération.
Les raccordements à effectuer sont les mêmes
que ceux de la page 107. Insérez dans le
magnétoscope une cassette contenant la scène
à insérer.
[A] La cassette contenant la scène à superposer
[B] La cassette avant montage
[C] La cassette après montage
Réglez le commutateur POWER sur .
Effectuez cette opération à l’aide de l’écran
tactile.
(1) Sur le magnétoscope, positionnez la
bande juste avant le point de départ
d’insertion [a], puis réglez le
magnétoscope en mode de pause de
lecture.
(2) Sur votre caméscope, repérez le point de
fin d’insertion [c], puis réglez-le en
mode de pause de lecture.
(3) Appuyez sur ZERO SET MEMORY sur
la télécommande. L’indicateur ZERO
SET MEMORY clignote et le point de fin
d’insertion est mémorisé dans l’appareil.
Le compteur de bande indique « 0:00:00 ».

Table of Contents

Related product manuals