EasyManua.ls Logo

Sony HCD-FX205 - Main Board Removal

Sony HCD-FX205
44 pages
Print Icon
To Next Page IconTo Next Page
To Next Page IconTo Next Page
To Previous Page IconTo Previous Page
To Previous Page IconTo Previous Page
Loading...
HCD-FX200/FX205
7
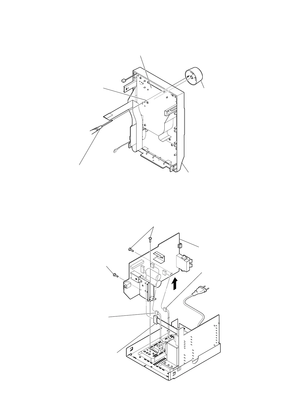
2-6. MAIN BOARD
2-5. KNOB (VOL)
Note: This illustration sees the front panel block from PANEL board side.
2
knob (VOL)
hole
1
Push the knob (VOL)
by flat-head screwdriver.
front panel block
PANEL board
3
connector
(CN904)
1
connector (CN901)
7
MAIN board
4
two screws (BV3)
6
screw
(BVTP3
u
8)
2
connector
(CN902)
5

Related product manuals