EasyManua.ls Logo

Sony HCD-LX6 - Disassembly Procedures; Case and Front Panel Disassembly

Sony HCD-LX6
62 pages
Print Icon
To Next Page IconTo Next Page
To Next Page IconTo Next Page
To Previous Page IconTo Previous Page
To Previous Page IconTo Previous Page
Loading...
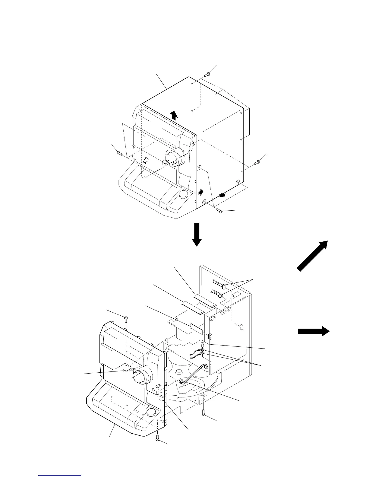
7
CASE
FRONT PANEL SECTION
Note: Follow the disassembly procedure in the numerical order given.
SECTION 3
DISASSEMBLY
2 five screws
(BVTT3 × 6)
6 case
3 two screws
(BVTP3 × 8)
1 three screws
(CASE3 TP2)
1 three screws
(CASE3 TP2)
4
4
5
5
5 four screws
(BVTP3 × 8)
5 screw (BVTP3 × 8)
2 connector
(CN802)
4 two lugs
6 claw
3 screw
(BVTP3 × 8
)
2 two connectors
(CN452, 702)
1 wire (flat type)
(15 core) (CN303)
1 wire (flat type)
(17 core) (CN304)
1 wire (flat type)
(13 core) (CN431)
3 three screws
(BVTP3 × 8)
4 lug
7 front panel section
MAIN BOARD (Page 8)
CD MECHANISM DECK
(Page 9)

Related product manuals