EasyManua.ls Logo

Sony HT-NT5 - Attaching the Grille Frame

Sony HT-NT5
263 pages
Print Icon
To Next Page IconTo Next Page
To Next Page IconTo Next Page
To Previous Page IconTo Previous Page
To Previous Page IconTo Previous Page
Loading...
19
US
Connecting and Preparation
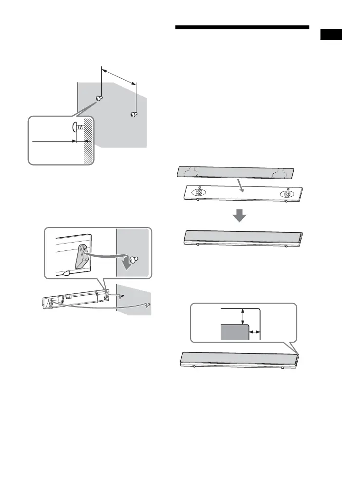
3 Fasten the screws in the wall.
The screw should protrude as
illustration.
4 Hang the holes of the mounting
bracket on the screws.
Align the holes at of the mounting
bracket with the screws, then hang
the unit on the two screws.
Attaching the Grille
Frame
You can protect the speakers by
attaching the supplied grille frame.
We recommend that you use the unit
without attaching the grille frame if you
will be listening to High-Resolution
Audio.
Attach the grille frame parallel to
the front panel.
Attach the grille frame right-side up.
Tips
The grille frame is fixed and its position is
determined by a magnet.
Attach the grille frame leaving a space
from the end of the Bar Speaker.
(approx.
11/32 in)
920 mm
(36 11/50 in)
8 mm to
9mm
Approx.
2mm
(3/32 in)
Approx. 4 mm
(3/16 in)

Table of Contents

Other manuals for Sony HT-NT5

Related product manuals