EasyManua.ls Logo

Sony KLV-40S400A - KLV-32 S400 A BG1 Board Removal

Sony KLV-40S400A
47 pages
Print Icon
To Next Page IconTo Next Page
To Next Page IconTo Next Page
To Previous Page IconTo Previous Page
To Previous Page IconTo Previous Page
Loading...
C
EF
85
B7
5C8
FE
03
FE27E
5
B2DD
5
FD4F
C580
D
C
2
C
A
3
BB
C3
A
6
D
83C
1
C
F4
C5
1
36
771FAAA
0
EBB
39665
D
65
2
9
1
KLV-20/32/37/40S400A (CH) 1-2
KLV-32S400A
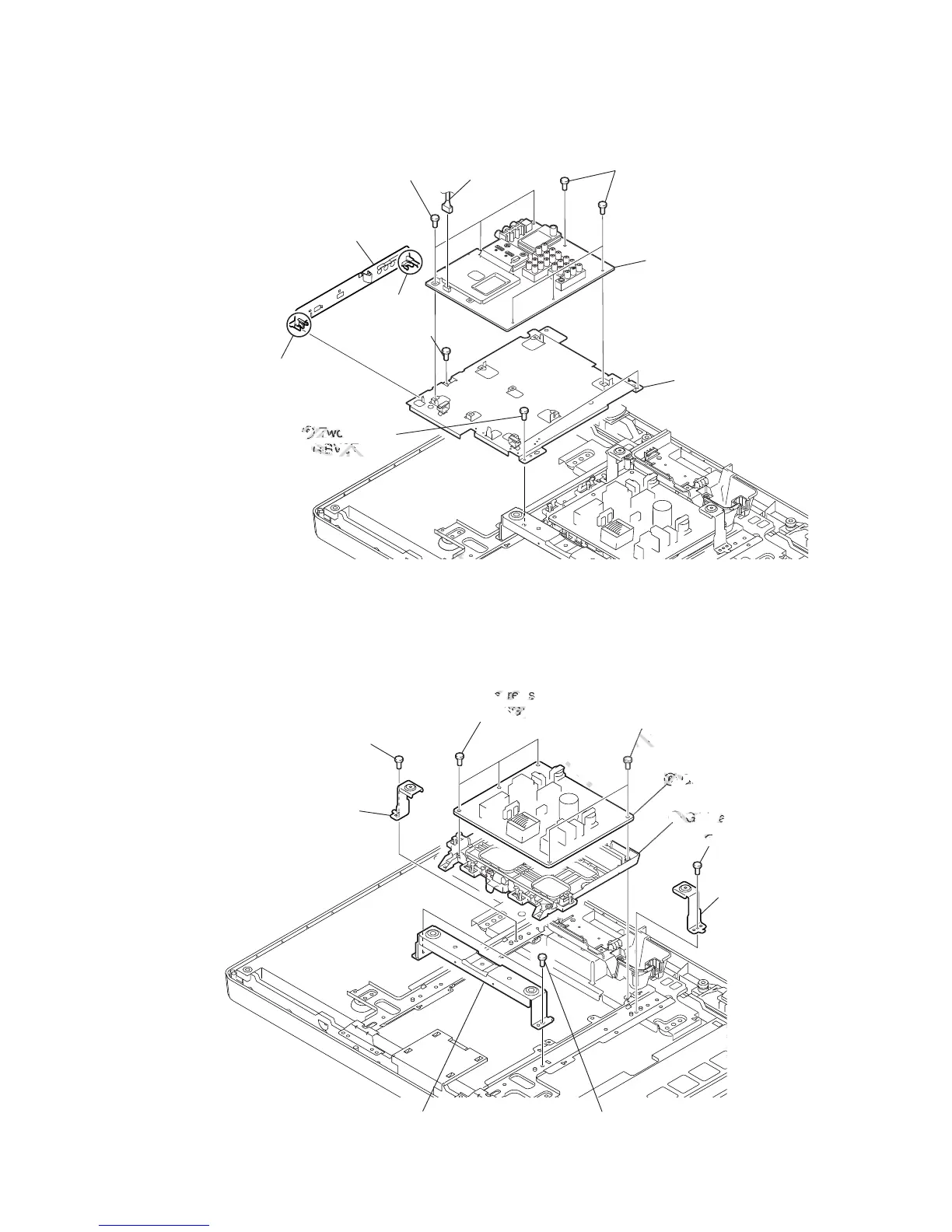
1-1-2. BG1 BOARD REMOVAL
Claw
Claw
2 Connector assy
14p+20p
1 Bracket side jack
assy
3 Four screws
(+BVST 3X8)
6 Two screws
(+BVST 3X8)
3 Three screws
(+BVST 3X8)
4 BG1 board
7 Main bracket assy
5 One screw
(+BV 3X12)
1-1-3. GP BOARD REMOVAL
1 One screw
(+PSW M4X8)
3 One screw
(+PSW M4X8)
5 Two screws
(+PSW 3SG)
8 Two screws
(+PSW M4X8)
5 Three screws
(+PSW 3SG)
6 GP board
7 G1 bracket
4 VESA frame
(bottom)
2 VESA frame
(bottom)
9 Vesa frame (top)
w
6
6
66
6
6
6
6
6
T
T
TTT
T
T
T
wo
wowo
wo
w
wo
w
wo
wo
s
c
(
(
(
(
(
(
(
+B
+B
+B+B+B+B+B
+B
+B
VSVS
VS
VS
VS
VS
VS
VS
V
T
T
T
T
T
3X
3
3
3
3
3
3
3
3
5
5
5
5
(
(
(
(
+P
e
s
s
s
s
s
crcrcr
r
r
c
r
cr
cr
ew
e
eweew
e
e
s
s s
s
SG
SG
G
SG
G
G
G
G
SG
)
))
)
)
)
)
)
6
6
666
6
6
6
6
6
6
6
6
6
6
6
6
G
G
G
G
G
G
G
G
P
P
b
7
7
7
7
7
7
G
G
G
GGG
G
G
G
1
1
br
r
r
r
r
r
r
r
r
ac
a
a
a
a
a
a
a
a
k

Related product manuals