EasyManua.ls Logo

Sony UP-970AD - UP-970 AD Front Panel Controls

Sony UP-970AD
43 pages
Print Icon
To Next Page IconTo Next Page
To Next Page IconTo Next Page
To Previous Page IconTo Previous Page
To Previous Page IconTo Previous Page
Loading...
Getting Started
Location and Function of Parts and Controls
7
I - AC IN connector
Use a proper power cord for your local power
supply (not supplied).
Refer to “Warning on power connection” on page 3
and “Warning on power connection for medical
use” on page 3.
UP-970AD
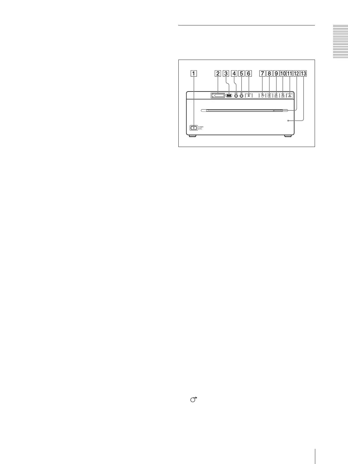
Front Panel
A !Power ON/OFF Switch (page 9, 19, 22, 31, 33,
36)
Press to turn ON the printer. The LCD display
backlight as well as the FEED, COPY, and PRINT
buttons light.
* When set to digital mode, the PRINT button does not
light.
B Printer window display (LCD: liquid crystal
display) (page 14, 22, 27, 33)
The back light lights in green when the unit
operates normally. Also, in normal operation, the
paper currently selected is indicated by the pointer
on the LCD.
For detailed information on the paper, see
“Installing the Printer Driver” on page 26 and
“Paper currently selected” on page 22 and 33.
If an error occurs, a corresponding alarm message
is displayed.
During menu operations, menu items and settings
are displayed.
C Jog dial (page 20, 31, 36)
Used to make menu operations.
D CONTRAST (contrast) control (page 25)
Adjusts the contrast of the printouts.
E BRIGHT (brightness) control (page 25)
Adjusts the brightness of the printouts.
F RECEIVING lamp
Lights when the printer receives print data from a
PC.
G FEED button (page 11, 22, 33)
Hold down to feed paper. While a print job is in
progress, press to cancel the print job.

Other manuals for Sony UP-970AD

Related product manuals