EasyManua.ls Logo

Sony VPL-BW7 - Installazione a Soffitto (Proiezione Frontale)

Sony VPL-BW7
324 pages
Print Icon
To Next Page IconTo Next Page
To Next Page IconTo Next Page
To Previous Page IconTo Previous Page
To Previous Page IconTo Previous Page
Loading...
IT
60
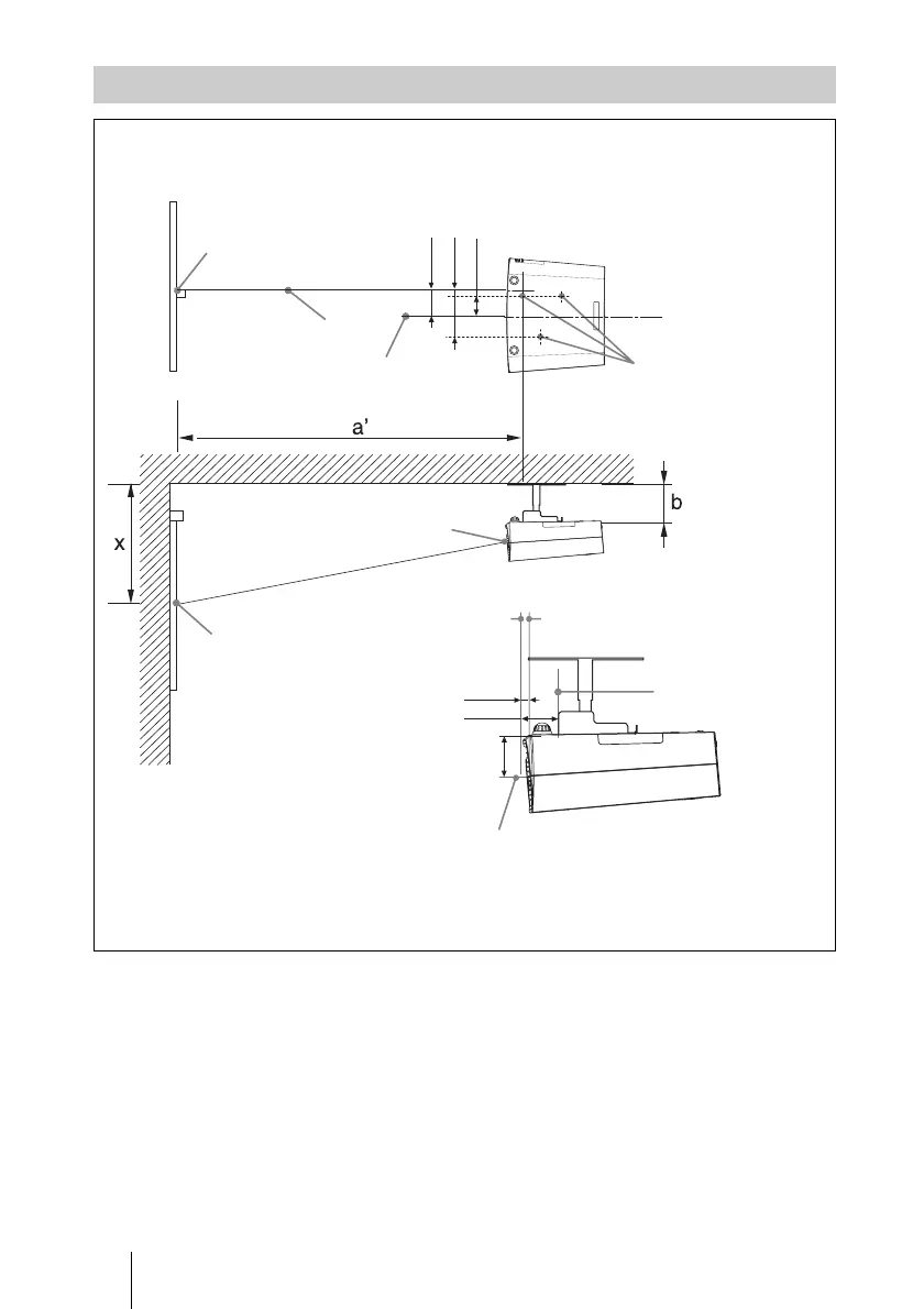
Questa sezione fornisce degli esempi di installazione del proiettore sul soffitto.
Per installare il proiettore sul soffitto, utilizzare un supporto di sospensione del proiettore
consigliato da Sony.
Per l’installazione su soffitto, rivolgersi a personale qualificato Sony.
Per quanto riguarda le misure di installazione, vedere la tabella a pagina 61.
Le lettere alfabetiche nelle figure indicano le seguenti distanze.
a’: distanza tra il foro (anteriore) di montaggio del supporto di sospensione del proiettore sul
lato inferiore del proiettore e il centro dello schermo
b: distanza tra il foro (anteriore) di montaggio del supporto di sospensione del proiettore sul
lato inferiore del proiettore e il soffitto
x: distanza fra il soffitto e il centro dello schermo
Installazione a soffitto (proiezione frontale)
L’unità è installata in modo che la parte inferiore sia parallela al soffitto. La funzione Trapezio V è
stata eseguita.
Soffitto
Distanza tra la parte anteriore del mobile e il foro di montaggio
del supporto di sospensione del proiettore (anteriore)
Centro dell’obiettivo
Centro dello schermo
Unità: mm (pollici)
Centro dello schermo
Centro dell’obiettivo
Centro del proiettore
Centro dell’obiettivo
Centro dell’obiettivo
Parte anteriore
dell’apparecchio
Foro per il montaggio
del supporto di
sospensione proiettore
(anteriore)
10,4 (
3
/8)
26,7 (1)
72,5
(2
7
/8)
69,5 (2
3
/4)
Fori per il montaggio del
supporto di sospensione
proiettore
104,5 (4
1
/
8
)
42,2 (1
5
/
8
)

Table of Contents

Other manuals for Sony VPL-BW7

Related product manuals