EasyManua.ls Logo

Specialized FSR - FRAME GEOMETRY

Specialized FSR
16 pages
Print Icon
To Next Page IconTo Next Page
To Next Page IconTo Next Page
To Previous Page IconTo Previous Page
To Previous Page IconTo Previous Page
Loading...
6
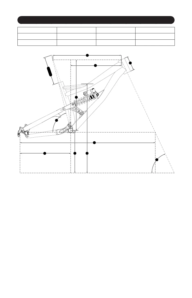
FRAME GEOMETRY
1. Top Tube Length
1
4. Seat Tube Angle
2
7. Standover Height
3
10. Reach
2. Chainstay Length 5. Head Tube Angle 8. Head Tube Length
3. BB Height 6. Wheelbase 9. Stack
9
1
4
5
3
6
2
10
7
250mm
8
1
TT length is the Horizontal Measurement from the center-line of the HT at the top of the
HT to the center-line of the projected seat tube.
2
Effective Seat Tube Angle is measured from BB to 250mm above seat collar.
3
Stand Over height is measured vertically at the centerpoint of the TT measurement.
Headset: 1.5” upper and lower BB shell: 73mm threaded
Seatpost diameter: 30.9mm Derailleur Hanger: 9895-4020
Front derailleur clamp: E-Type direct mount (DMD) Status II eye-to-eye: (8.75”)
Seat Collar: 34.9mm Status II shock stroke: (2.75”)
Rear hub spacing: 135mm Travel: 200mm (8”)

Related product manuals