EasyManua.ls Logo

Speed Queen TMB796C - To Reverse the Loading Door

Speed Queen TMB796C
62 pages
Print Icon
To Next Page IconTo Next Page
To Next Page IconTo Next Page
To Previous Page IconTo Previous Page
To Previous Page IconTo Previous Page
Loading...
Installation
M414905
20
© Copyright, Alliance Laundry Systems LLC – DO NOT COPY or TRANSMIT
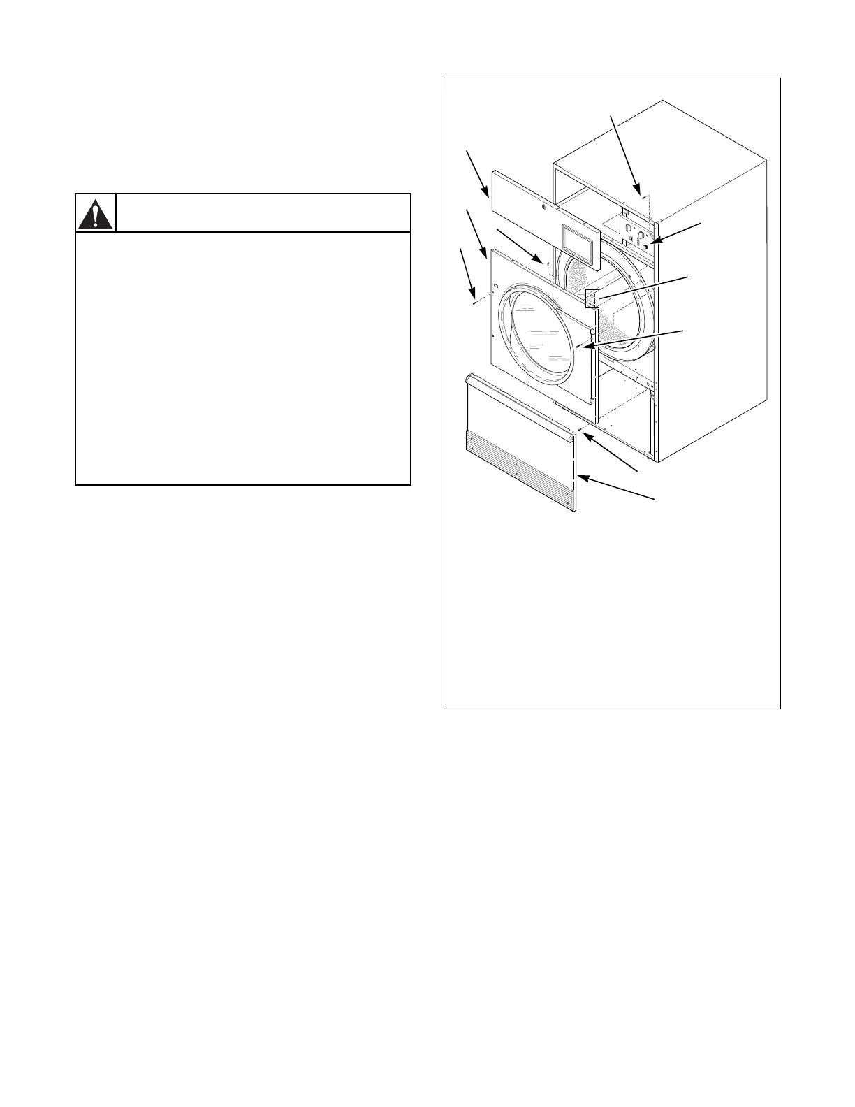
To Reverse the Loading Door
A, H, S and U models after serial number
0308001307
The tumbler is delivered with a right hinged door, but
the door can be changed to a left hinged position.
1. Disconnect power supply to tumbler.
2. Unlock and remove control panel. Remove two
control assembly mounting screws from right
side. Swing open control to access upper flange
right guide lug assembly. Refer to Figure 6.
3. Remove lint panel.
IMPORTANT: Support door and hinge assembly
securely to prevent it from dropping once side
screws are removed from door hinge lug.
Figure 6
WARNING
To reduce the risk of electric shock, fire,
explosion, serious injury or death:
Disconnect electric power to the
tumbler before servicing.
Close gas shut-off valve to gas tumbler
before servicing.
Close steam valve to steam tumbler
before servicing.
Never start the tumbler with any guards/
panels removed.
Whenever ground wires are removed
during servicing, these ground wires
must be reconnected to ensure that the
tumbler is properly grounded.
W002
TMB1994N
1 Control Assembly Mounting Screw
2 Control Assembly
3 Guide Lug Assembly
4 Side Screw
5 Screw
6 Lint Panel
7 Front Panel
8 Control Panel
TMB1994N
1
2
3
4
5
6
4
7
5
8

Table of Contents

Related product manuals