EasyManua.ls Logo

Stack-On PC-650 - Fonctions de Commande; Pour Commencer; Installation des Piles

Stack-On PC-650
12 pages
Print Icon
To Next Page IconTo Next Page
To Next Page IconTo Next Page
To Previous Page IconTo Previous Page
To Previous Page IconTo Previous Page
Loading...
Coffret portable
Instructions
POUR COMMENCER
À la réception de votre coffret, vous devrez ouvrir la porte avec la clé afin d’installer les piles. Les piles sont incluses et se
trouvent à l’intérieur du coffret.
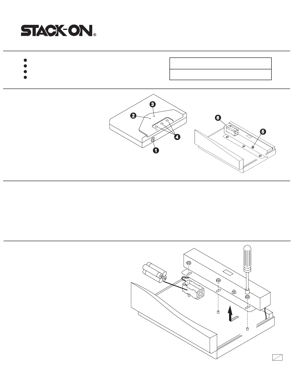
INSTALLATION DES PILES
REMARQUE : Assurez-vous que la serrure est
verrouillée avant d’essayer d’enlever le module
d’alimentation pour y installer les piles.
Retirez le revêtement en mousse et enlevez les
écrous du module d'alimentation. Faites glisser le
module en arrière et soulevez-le. Installez les 4 piles
alcalines (AAA) de la manière illustrée. Réinstallez
le module et les écrous. ATTENTION: Prenez soin
de ne pincer aucun fil électrique en remontant le
module d’alimentation.
REMARQUE : Si les piles sont faibles, un voyant rouge
s’allume lorsque le coffret est ouvert. Remplacez les 4
piles alcalines AAA par des neuves de la manière
illustrée.
REMARQUE : Cette clé sert également en cas de perte ou d’oubli de votre code de sécurité, ou si les piles sont déchargées. Si vous
perdez votre clé, vous pourrez acheter une clé de rechange à l’aide du numéro de série inscrit à l’avant du coffret. Pour de plus
amples renseignements, reportez-vous à la section des clés de rechange.
Pour ouvrir le coffret, insérez la clé dans la serrure et tournez-la dans le sens antihoraire jusqu’à ce que la plaque de couverture
s’ouvre automatiquement. REMARQUE : Vous devez ramener la clé en arrière en position verrouillée pour pouvoir fermer et
verrouiller la plaque de couverture.
40263-1110
12
5
Enregistrer le numéro de série inscrit sur la plaque de la porte avant.
Enregistrer le numéro de combinaison.
Garder les clés en lieu sûr et hors de la portée des enfants.
NE PAS RANGER les clés ou votre combinaison dans le coffret.
No de série :
No de combinaison :
FONCTIONS DE COMMANDE
1. Serrure à clé
2. Voyant rouge
3. Voyant vert
4. Touches de combinaison
5. Bouton de réinitialisation (à l’intérieur du coffret)
6. Compartiment à piles (à l’intérieur de coffret)
7mm

Related product manuals