EasyManua.ls Logo

Stager FD Series - Diagrama Electrica

Stager FD Series
Print Icon
To Next Page IconTo Next Page
To Next Page IconTo Next Page
To Previous Page IconTo Previous Page
To Previous Page IconTo Previous Page
Loading...
13.
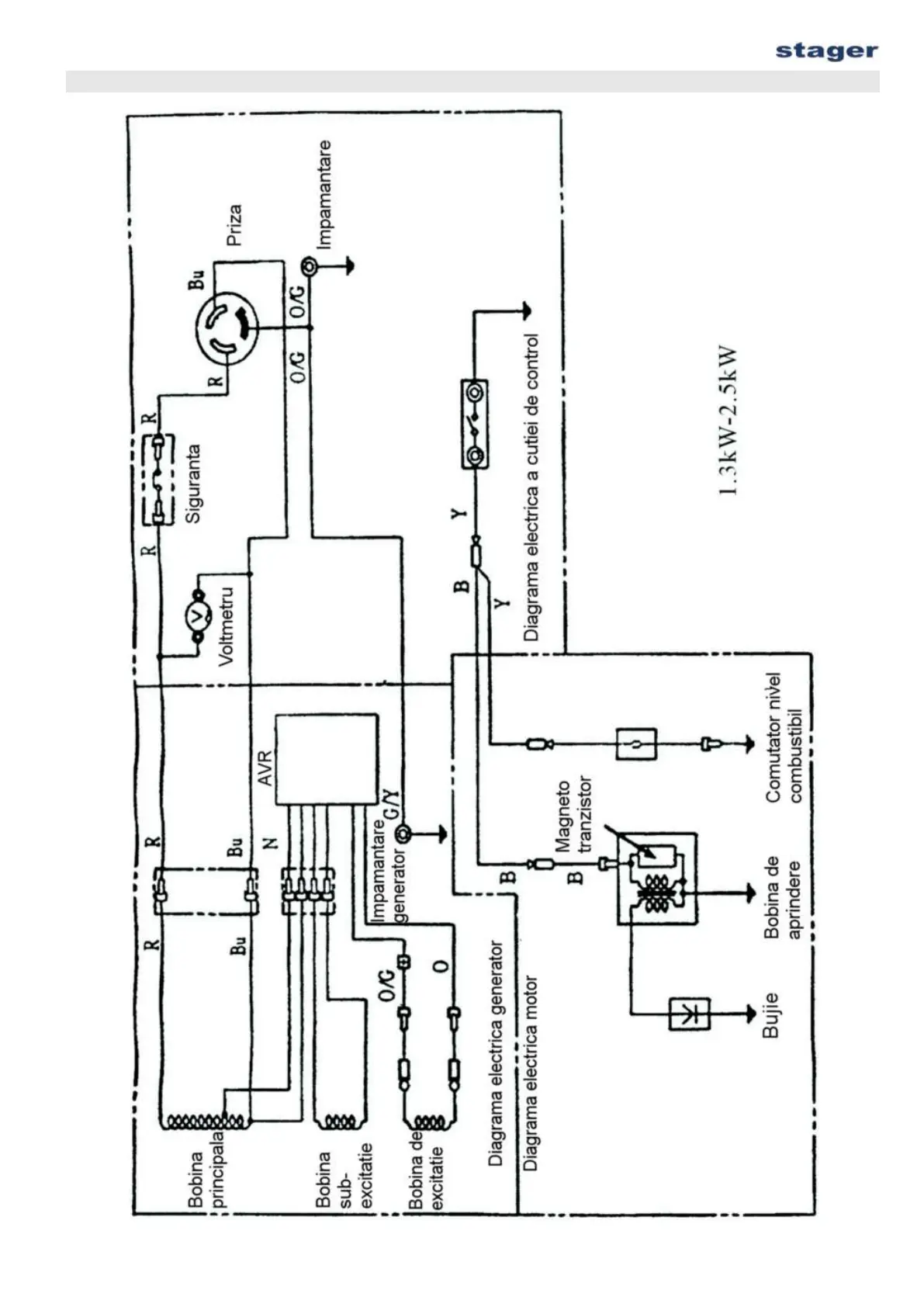
DIAGRAMA ELECTRICA
Ver. 3/Rev. 1; Data: 21.10.2022 25

Related product manuals