EasyManua.ls Logo

Stanley ST-70T-SS-E - Page 14

Stanley ST-70T-SS-E
140 pages
Go to English
To Next Page IconTo Next Page
To Next Page IconTo Next Page
To Previous Page IconTo Previous Page
To Previous Page IconTo Previous Page
Loading...
© 2018 Pinnacle Climate Technologies, Inc.
13
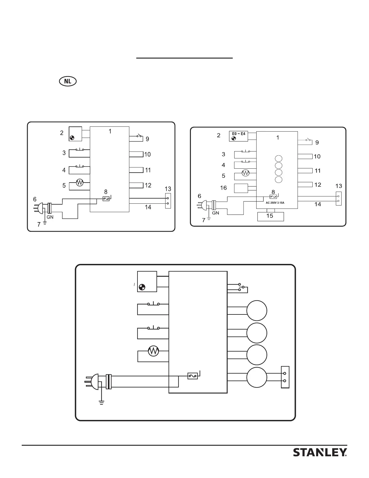
Bedradingsschema's
AC230V/50Hz
250V/3.15A
STROOMLAMPJE
PRINTPLAA-
TPANEEL
KANTELSCHAKELAAR
WARMTESENSOR
FOTOCEL
STEKKER
GROEN
AARDE
STROOMKNOP
BLAZER-
MOTOR
KLEP
POMP
ONTSTEKING
BOUGIE
STORINGSLAMPJE
PRINTPLAAT
ZEKERING
ST-125-OFR-E
AC 250V 3.15A
ST-70-SS-E
ST-70T-SS-E
1. PRINTPLAATPANEEL
2. STROOMLAMPJE
3. KANTELSCHAKELAAR
4. BOVENGRENSSCHAKELAAR
5. FOTOCEL
6. STEKKER
7. AARDE
8. ZEKERING
9. BEDIENINGSSCHAKELAAR
10. BLAZERMOTOR
11. KOELMOTOR
12. POMP
13. BOUGIE
14. ONTSTEKING
15. TEMPERATUURSENSOR
16. THERMISTOR
GN. GROEN
1. PRINTPLAATPANEEL
2. STROOMLAMPJE
3. KANTELSCHAKELAAR
4. BOVENGRENSSCHAKELAAR
5. FOTOCEL
6. STEKKER
7. AARDE
8. ZEKERING
9. BEDIENINGSSCHAKELAAR
10. BLAZERMOTOR
11. KOELMOTOR
12. POMP
13. BOUGIE
14. ONTSTEKING
15. TEMPERATUURSENSOR
16. THERMISTOR
GN. GROEN
1. PRINTPLAATPANEEL
2. STROOMLAMPJE
3. KANTELSCHAKELAAR
4. BOVENGRENSSCHAKELAAR
5. FOTOCEL
6. STEKKER
7. AARDE
8. ZEKERING
9. BEDIENINGSSCHAKELAAR
10. BLAZERMOTOR
11. KOELMOTOR
12. POMP
13. BOUGIE
14. ONTSTEKING
15. TEMPERATUURSENSOR
16. THERMISTOR
GN. GROEN

Other manuals for Stanley ST-70T-SS-E

Related product manuals