EasyManua.ls Logo

Strobel 141-23 - Page 22

Strobel 141-23
40 pages
Print Icon
To Next Page IconTo Next Page
To Next Page IconTo Next Page
To Previous Page IconTo Previous Page
To Previous Page IconTo Previous Page
Loading...
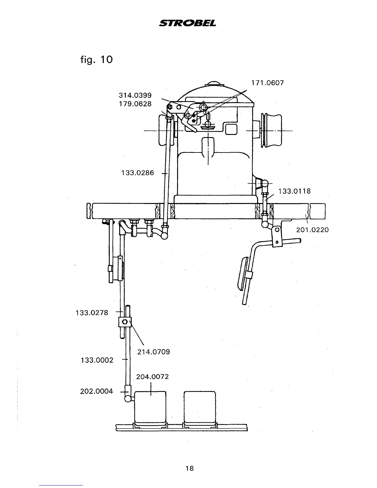
fig.
10
133.0278
133.0002
202.0004
314.0399
179.0628
133.0286
STROBEL
204.0072
18
171.0607
133.0118
From the library of: Superior Sewing Machine & Supply LLC

Related product manuals