EasyManua.ls Logo

Sullair 185 - Electrical Parts

Sullair 185
137 pages
Print Icon
To Next Page IconTo Next Page
To Next Page IconTo Next Page
To Previous Page IconTo Previous Page
To Previous Page IconTo Previous Page
Loading...
Section 7
ILLUSTRATIONS AND PARTS LIST
90
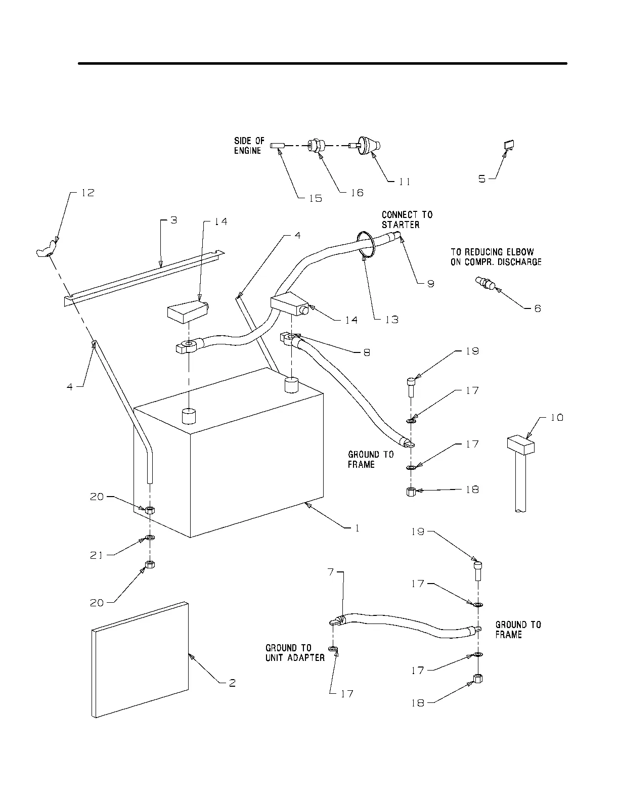
7.8 ELECTRICAL PARTS --- JOHN DEERE MODELS

Other manuals for Sullair 185

Related product manuals