EasyManua.ls Logo

Sunfire Atmos XTATM265 - Adjusting the Controls; Control Adjustment Methods; Listening-Based Control Adjustment; Recording Control Settings

Sunfire Atmos XTATM265
24 pages
Print Icon
To Next Page IconTo Next Page
To Next Page IconTo Next Page
To Previous Page IconTo Previous Page
To Previous Page IconTo Previous Page
Loading...
18
User's Manual
User's Manual
User's Manual
User's Manual
There are two main methods for adjust-
ing the level, crossover frequency and
phase of the Sunre Subwoofer to match
a system:
Bob Carver’s preferred method:
By listening and making the
adjustments to suit your taste.
Laboratory method: By measuring
the output and adjusting for a at
frequency response.
Excellent results can be obtained if you
make the adjustments based on simply
listening. This is Sunre’s preferred meth-
od as it allows the system to be voiced
based on what sounds the best, whereas
laboratory-at frequency response can
often be clinical and less than exciting.
The following procedure is for those who
prefer a more methodical and scientic
approach. This excerpt is from “The
Audio Critic,” issue 24, page 31, written
by contributing editor David Rich, and is
reprinted here with their kind permission.
You will need a test CD with low-fre-
quency warble tones, and a sound pres-
sure-level meter. The Radio Shack
®
SPL
meter will do ne, as will the Stereophile
®
test CD.
“Step 1. Disconnect the subwoofer and
run the main speaker with a tone in its
passband (80-100Hz). Measure the level.
Step 2. Disconnect the main speaker
and reconnect the subwoofer. Set the
subwoofer to its highest crossover
frequency. Set the level control of the
subwoofer to give the same sound pres-
sure level with the same tone you used
in Step 1.
Step 3. With both the subwoofer and
the main speaker connected, measure
the level of the tones at the available
frequencies. Because the crossover
is set too high, you will have a peaked
response. Adjust the crossover control to
get the smoothest response.
Adjusting the controls
Step 4. Use the phase control to make
the response even smoother. It has its
biggest effect at the crossover frequency.
You can iterate between the crossover
and the phase controls. Keep your hands
off the level control! It was set correctly
in step 2.
Step 5. Listen to the subwoofer. Resist
all temptations to turn up the level
control. Play something with really deep
bass to conrm that your subwoofer is
working.”
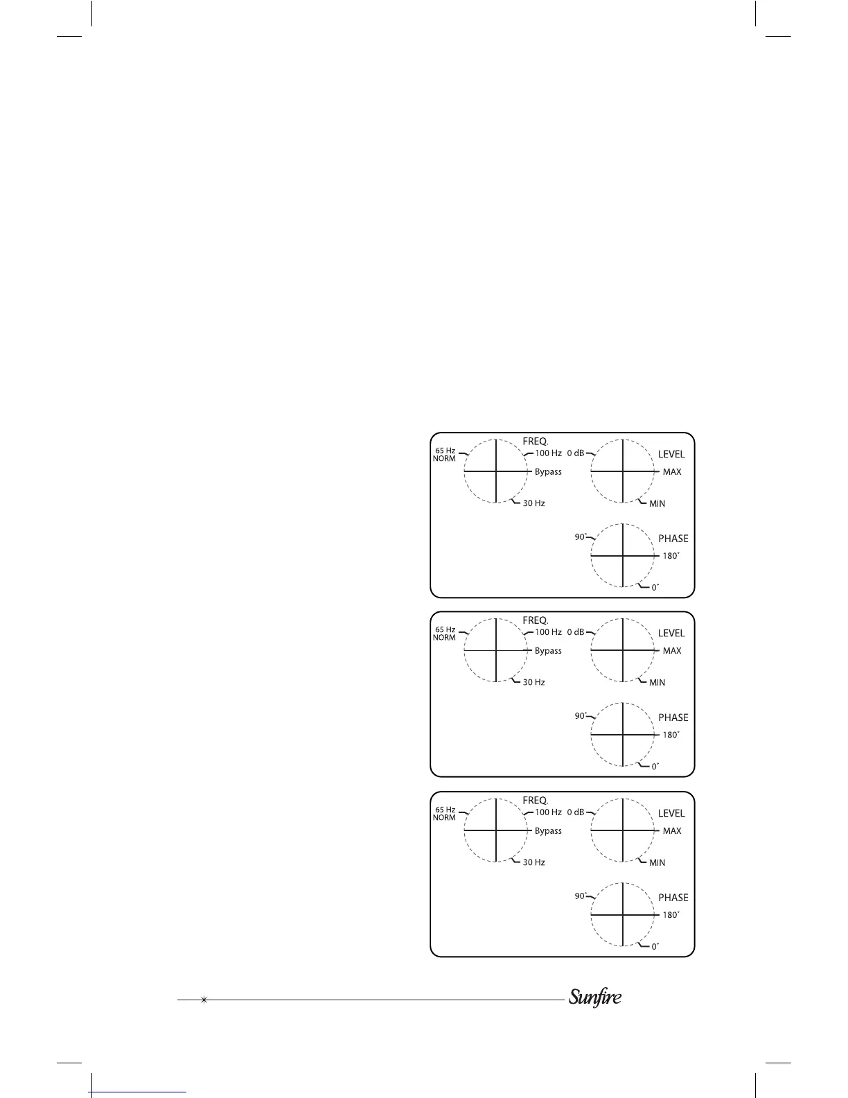
Control settings
Use this drawing to record some of your
favorite settings.

Related product manuals