EasyManua.ls Logo

Sungrow SG6K-D - Advanced Settings and Parameters

Sungrow SG6K-D
95 pages
Print Icon
To Next Page IconTo Next Page
To Next Page IconTo Next Page
To Previous Page IconTo Previous Page
To Previous Page IconTo Previous Page
Loading...
User Manual 7 LCD Operation
57
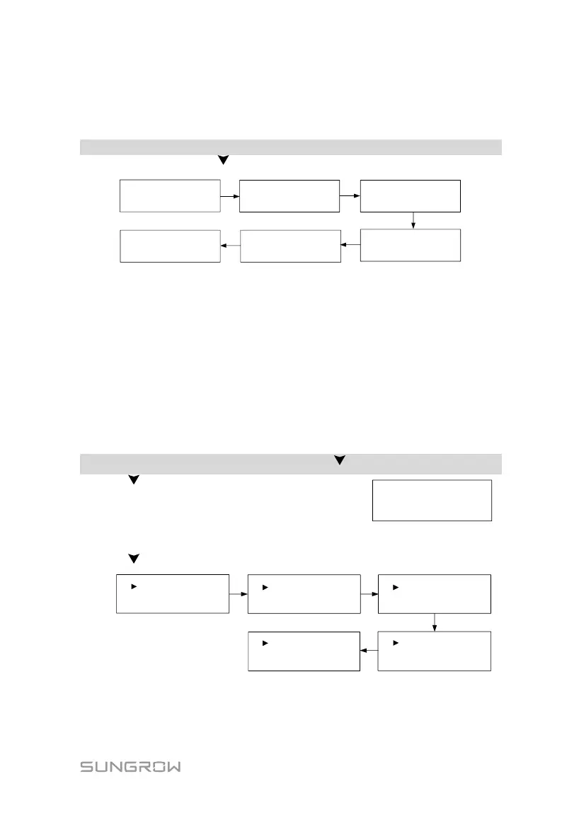
7.4 Viewing Running Info
Proceed as follows to look through the detailed running information.
Main Screen (Touch ENT) Menu Run Info (Touch ENT)
Scroll pages by touching . Touch ENT to exit.
E-total: 1999kWh
E-today: 20.0kWh
Ipv1: 2.9A
Grid Vtg:
Grid Frq:
221.7V
50.0Hz
Vpv1: 250.0V
Ipv2: 2.6A
Vpv2: 244.4V
Pac:
Iac:
Meter Power:
2210W
Pmax Limit:
100%
1338.5W
6.0A
Meter power:
+ (omitted): The inverter is sinking power from the grid.
-: The inverter is sourcing power to the grid.
P
max
limit: only indicated for the derating in the event of over-temperature,
overvoltage or over-frequency.
7.5 Advanced Settings
7.5.1 Inputting the Password
The parameter settings are protected with a password. If you want to set the
inverter’s parameters, you have to input the correct password.
Main Screen (Touch ENT) Menu (Touch ) Settings (Touch ENT)
Touch to change the value and Touch ENT to
move the cursor. Input the password.
Please ask SUNGROW or your dealer for this
password.
Password: 0 0 0
Touch ENT to confirm the password and enter the submenu.
Touch to navigate down and touch ENT to confirm the selection.
Grid Prot. Param
Param Reset
DRM Switch
Total Export
PF
Energy Adj.
Esc
Comm. Param GND Detect
Existing Inverter

Table of Contents

Other manuals for Sungrow SG6K-D

Related product manuals