EasyManua.ls Logo

SWIT S-1093F - Advanced Functions; GPI Control Setup

SWIT S-1093F
21 pages
Print Icon
To Next Page IconTo Next Page
To Next Page IconTo Next Page
To Previous Page IconTo Previous Page
To Previous Page IconTo Previous Page
Loading...
12
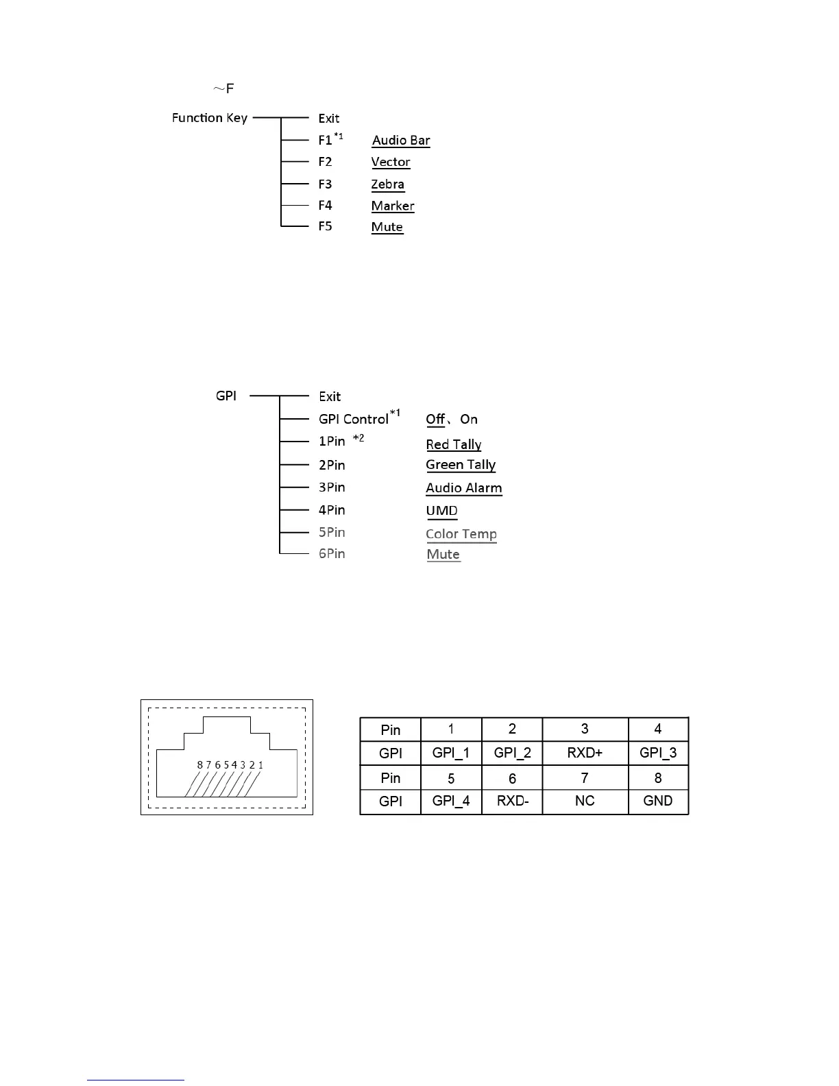
4. Function key
To define the F1
F5 function keys.
*1 Function keys F1-F5 can be set as the down below functions:
Audio Bar, Histogram, False Color, AFD, H/V Delay, R/G/B/Mono, Marker, Color Bar, UMD,
Audio Alarm, Focus Assist , Aspect Ratio, Scan Mode, Zoom Mode, Mute, Freeze Frame,
CVBS, HDMI , SDI1, SDI2 ,Color Temp, Time Code, Zebra, Vector.
5. GPI
User can set GPI pins to relevant functions to turn on or off this function.
*1 When “GPI control” is set to “On”, the monitor can be operated through external GPI control
unit.
*2 The GPI pins can be set to the down below functions:
Red Tally, Green Tally, Yellow Tally, Aspect Ratio, Scan Mode, Zoom Mode, Mute, Freeze
Frame, Color Temp, Time Code, Zebra, Vector, Audio Bar, Histogram, False Color, AFD, H/V
Delay, R/G/B/Mono, Marker, Color Bar, UMD, Audio Alarm, Focus Assist.
When connecting the GPI pin with ground, the setted function will be turned on, and goes out
when disconnecting.
Example 1: Under “GPI ” submenu, set “GPI control” to “On”, set “2 Pin” to “Red Tally”, when
the pin 2 of the extenal GPI control unit is connected with ground, the Tally light on the front
panel will turn red. When disconnected, the tally light will turn off.
Example 2: Under “GPI ” submenu, set “GPI control” to “On”, set “6 Pin” to “Scan Mode”, when
the pin 6 of the extenal GPI control unit is connected with ground, the Scan mode will change
and follow the sequence: “Normal” →”Overscan”→”Native” .

Related product manuals