EasyManua.ls Logo

Sycamore 6000L - Panel Parts Listing - Figure C

Sycamore 6000L
39 pages
Print Icon
To Next Page IconTo Next Page
To Next Page IconTo Next Page
To Previous Page IconTo Previous Page
To Previous Page IconTo Previous Page
Loading...
Owner's Manual
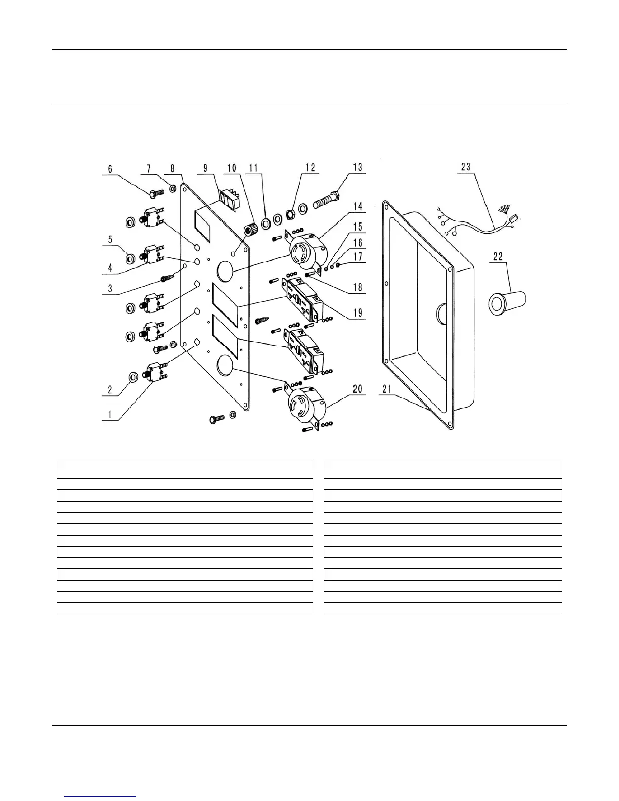
Panel Parts Listing
Figure C
ITEM
NO.
DESCRIPTION PSYCG # QTY.
ITEM
NO.
DESCRIPTION PSYCG # QTY.
C01 CIRCUIT BREAKER 20A WITH NUT PSYCG7000EC01 3
C13 GROUND BOLT M8x20 PSYCG7000EC18 4
C02 BREAKER 20A NUT PSYCG7000EC02 3
C14 4 PRONG SOCKET NEMA L14-30 PSYCG7000EC26 1
C03 OVAL HEAD BOLT ST4x10 PSYCG7000EC05 2
C15 WASHER Ø4.2 x Ø10 PSYCG7000EC24 8
C04 CIRCUIT BREAKER 25A WITH NUT PSYCG7000EC03 2
C16 SPRING WASHER Ø4.2 x Ø6 PSYCG7000EC23 8
C05 BREAKER 25A NUT PSYCG7000EC04 2
C17 HEX NUT M4 PSYCG7000EC22 8
C06 FLANGED BOLT M6x18 PSYCG7000EC10 4
C18 OVAL HEAD SCREW M4x12 PSYCG7000EC25 8
C07 FIBER WASHER Ø6.2 x Ø12 PSYCG7000EC32 4
C19 DUPLEX SOCKET NEMA 5-20 GFCI PSYCG2500LC10 2
C08 CONTROL PANEL PSYCG6000LC08 1
C20 3 PRONG SOCKET NEMA L5-30 PSYCG7000EC27 1
C09 STOP SWITCH PSYCG6000LC09 1
C21 CONTROL PANEL BOX PSYCG7000EC29 1
C10 DECORATIVE CUPREW NUT M8 PSYCG7000EC35 1
C22 OUTLET TRAP PSYCG7000EC30 1
C11 CUPREW WASHER Ø8.2 x Ø16 PSYCG7000EC37 3
C23 WIRING HARNESS PSYCG7000EC31 1
C12 HEX CUPREW NUT M8 PSYCG7000EC36 1
© 2006, Sycamore SCS, LLC.
19

Related product manuals