EasyManua.ls Logo

Tailift TPR1230 - The Order to Pack; Installation of the Machine; Have the Machine Set Onto the Fastening Bolts of the Crate Base

Tailift TPR1230
99 pages
Print Icon
To Next Page IconTo Next Page
To Next Page IconTo Next Page
To Previous Page IconTo Previous Page
To Previous Page IconTo Previous Page
Loading...
4-3
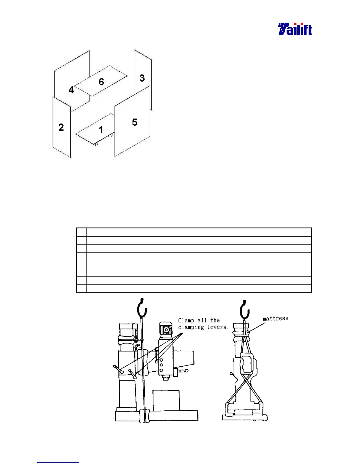
4.2.3 The order to pack
Please pack according the following procedure:
1. Place the base plate 1 under the machine and
have both the plate and the machine fastened
with bolts.
2. Install the side plate 2.
3. Install the side plate 3.
4. Install the side plate 4.
5. Install the side plate 5.
6. Install the top plate 6 and pack it.
4.3 Installation of the machine
4.3.1 Have the machine set onto the fastening bolts of the crate base
(1) Tools
Sling, lifting equipment, spanner, movement plate, insertion blocks and level
adjusting blocks.
(2) Procedure
a. After dismantling the wooden crate, get the manuals and tool box out.
b. Remove the fastening bolts.
c. Hook it using sling, lift it up and move to site for installation.
d. Ali
g
n the
g
round bolts and the base bores and set the later onto them.
Meanwhile, have the level ad
j
ustin
g
blocks inserted to the underneath of the
level adjusting bolts.
e. Remove the lifting equipment and slings.
f. Have nuts for the ground bolts mounted.

Table of Contents

Related product manuals