EasyManua.ls Logo

Tait TM8000 Series - Page 48

Tait TM8000 Series
244 pages
To Next Page IconTo Next Page
To Next Page IconTo Next Page
To Previous Page IconTo Previous Page
To Previous Page IconTo Previous Page
Loading...
48 General Description TM8100 Mobile Radio Service Manual
May 2004 © Tait Electronics Limited
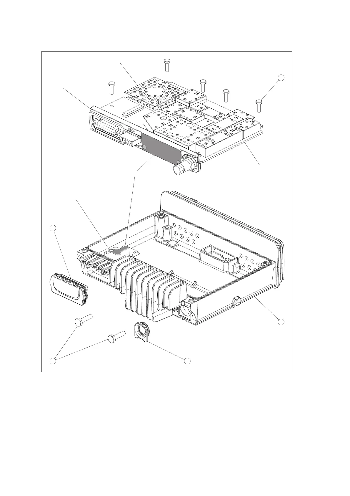
Figure 2.11 Parts of the chassis assembly
10
11
8
12
9
DIGITAL BOARD
HEAT-TRANSFER
BLOCK
MAIN BOARD
MAIN-BOARD
ASSEMBLY
THERMAL PASTE
SCREW BOSS

Table of Contents

Other manuals for Tait TM8000 Series

Related product manuals