EasyManua.ls Logo

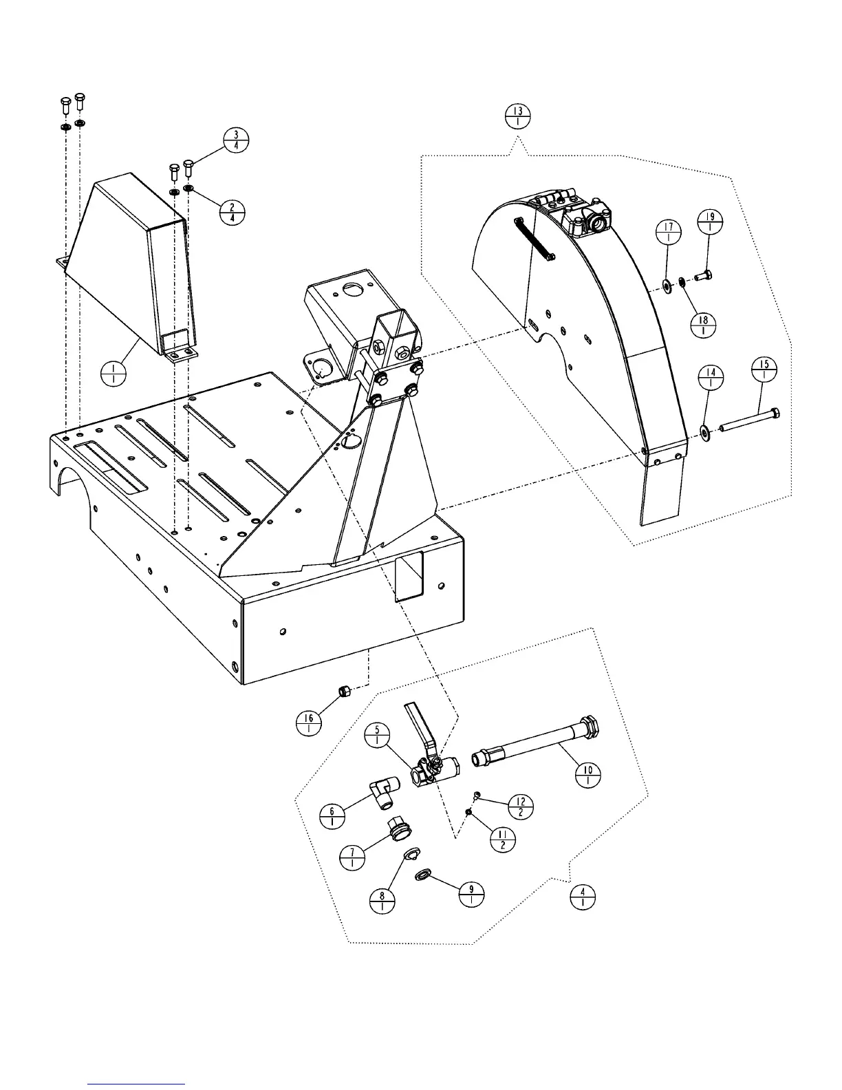
Target MC18 - Diagram 5 - Guards & Water Distribution; Guards and Water Distribution Components Identification

Target MC18
40 pages
Print Icon
To Next Page IconTo Next Page
To Next Page IconTo Next Page
To Previous Page IconTo Previous Page
To Previous Page IconTo Previous Page
Loading...
28
Diagram 5 – Guards & Water Distribution

Related product manuals