EasyManua.ls Logo

Teac LP-R400 - Conexiones

Teac LP-R400
76 pages
Print Icon
To Next Page IconTo Next Page
To Next Page IconTo Next Page
To Previous Page IconTo Previous Page
To Previous Page IconTo Previous Page
Loading...
56
CD Player, Cassette Tape Deck, etc.
AUDIO OUT
RL
A
B
C
D
Conexiones
PRECAUCIÓN:
< Apague todos los componentes antes de realizar las
conexiones.
< Lea las instrucciones de todos los componentes que vaya a
utilizar con la unidad.
< Asegure firmemente cada uno de los conectores. Para evitar
zumbidos y ruido, no envolva los cables de conexión junto
con los cables de alimentación de CA.
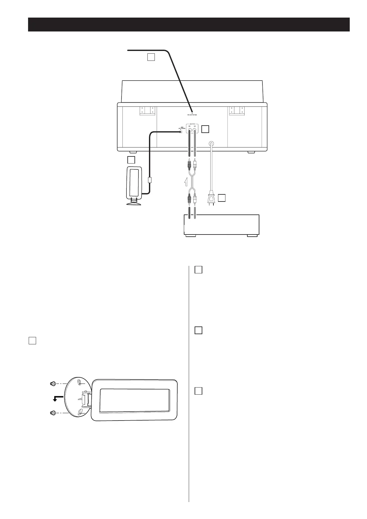
Antena de cuadro de AM
Oriente la antena para optimizar la recepción.
Si lo desea, puede anclar la antena de AM a una pared
como se indica en la ilustración:
A
Reproductor de CD, Deck de Cassette, etc.
SALIDA DE AUDIO
Antena FM
Mientras se encuentre en la banda FM, sintonice una
estación de FM y extienda la antena hasta encontrar la
mejor posición para la recepción. Si mueve su unidad a una
nueva ubicación, puede ser necesario volver a ajustar esta
antena.
Conectores AUX IN (entrada auxiliar)
Usted puede conectar un reproductor de CD, deck de
cassettes, etc. a esta unidad.
Conecte el componente con los cables de clavija RCA.
Asegúrese de conectar el enchufe blanco al conector blanco
(Izquierda) y el enchufe rojo a los conectores rojos (Derecha).
Cable de alimentación de CA
Enchufe este cable de alimentación de CA en un
tomacorriente de pared CA.
D
C
B

Table of Contents

Other manuals for Teac LP-R400

Related product manuals