EasyManua.ls Logo

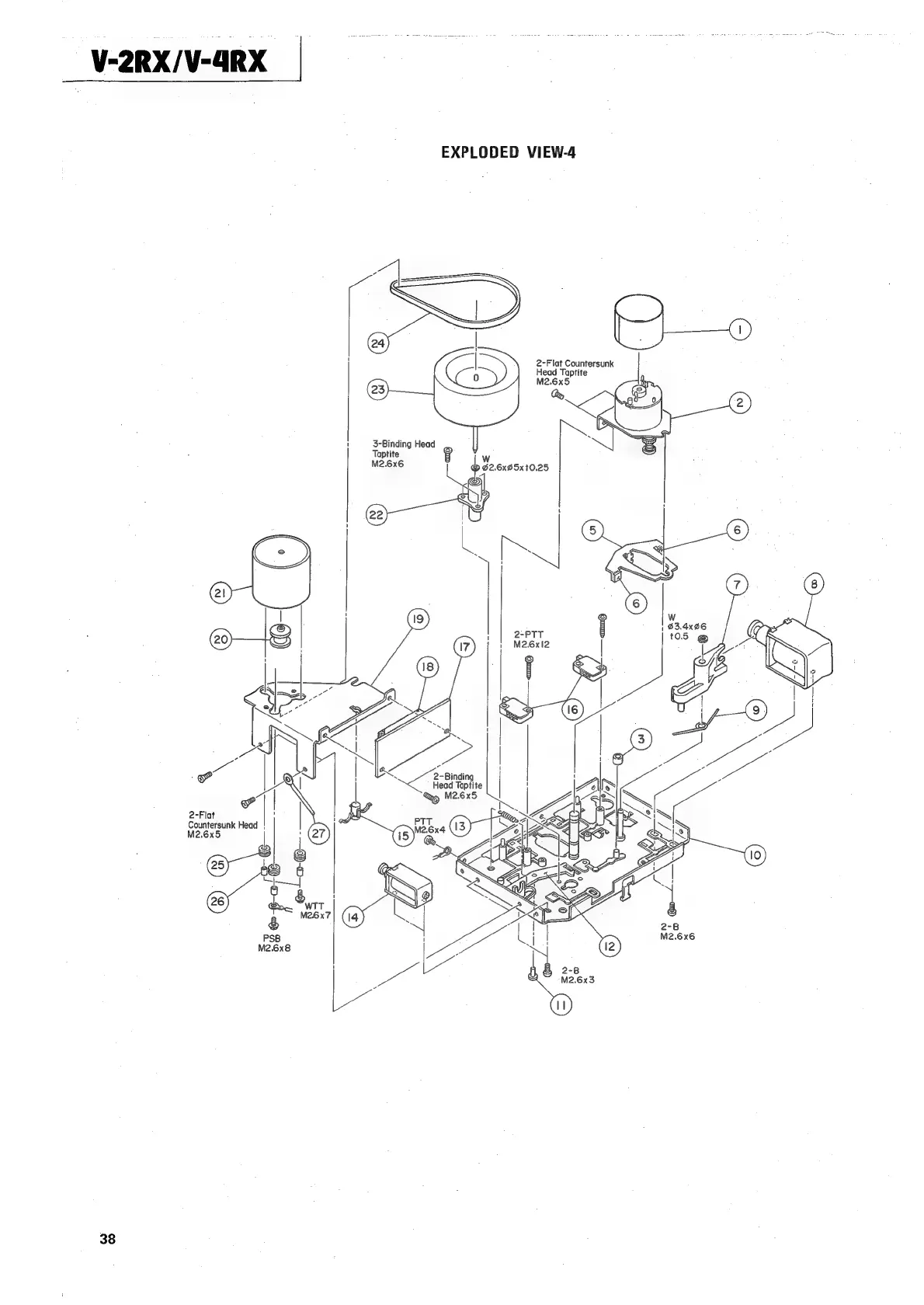
Teac V-2RX - Exploded View 4 - Sub-assembly

Teac V-2RX
69 pages
Print Icon
To Next Page IconTo Next Page
To Next Page IconTo Next Page
To Previous Page IconTo Previous Page
To Previous Page IconTo Previous Page
Loading...
V-2RX/V-4RX
EXPLODED
VIEW-4
38

Related product manuals