EasyManua.ls Logo

Tecumseh AH5540E - Test for Acidity if Multiple Motor Failures Have Occurred; Monitor the System

Tecumseh AH5540E
120 pages
Print Icon
To Next Page IconTo Next Page
To Next Page IconTo Next Page
To Previous Page IconTo Previous Page
To Previous Page IconTo Previous Page
Loading...
86
SERVICE HANDBOOK
Table 5-8: Suggested Maximum Pressure Drop (psi) for
Temporary Suction Filter-Drier Installation During Cleanup
Application Air Cond High Medium Low
Evaporator
Range, °F
+55 to +32 +55 to +20 +30 to -10 +10 to -20 -20 to -40
R-12, R-134a 6 6 3 2 3/4
R-22, R-
404A, R-
407C, R-502,
R-507
8 8 4 3 1 1/2
Test for Acidity if Multiple Motor Failures Have Occurred
If the system has suffered multiple motor failures, it is advisable that the oil of the re-
placement be tested and judged acid free before the system is considered satisfactorily
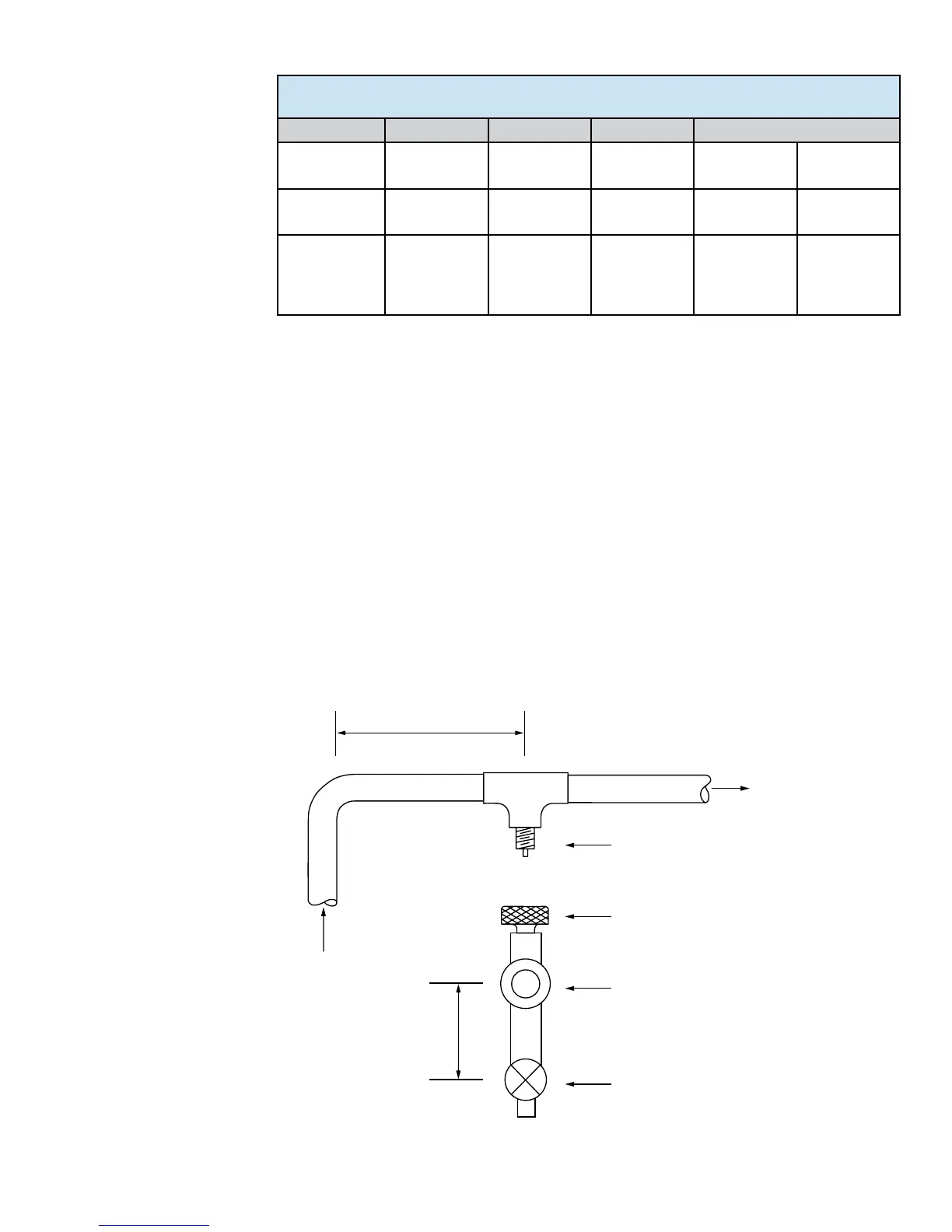
cleaned. An oil sample may be taken from a hermetic system if at the time the replacement
compressor was installed an oil trap is installed in the suction line (see Figure 5-12). When
the trapped oil level appears in the sight glass (less than an ounce is needed) the oil may
be slowly transferred to the beaker of the acid test kit as available from several manufac-
turers. A reading of less than 0.05 acid number is an indication that the system is free of
acid. A reading of higher than 0.05 means continued cleaning is required. Replace liquid
line filter-drier.
Monitor the System
The above procedure for the cleanup of hermetic systems after motor failure through the
use of suction line filter-drier will prove satisfactory in most instances provided the system
is monitored and kept clean by repeated drier changes, if such are needed. The failure to
follow these minimum cleanup recommendations will result in an excessive risk of repeat
motor failure.
Schrader Valve Vertically Downward
Female Schrader Valve Connection
1/2" Liquid Sight Glass
1/2" Shut O Valve
2" Minimum
At Least 6 Diameters
Suction Line
Method of obtaining oil sample on hermetic system.
After satisfactory oil test, Schrader valve may be
capped and the oil sample taken to the next job.
FIGURE 5-12:

Table of Contents