EasyManua.ls Logo

Texas Instruments 990 - Page 37

Texas Instruments 990
211 pages
Print Icon
To Next Page IconTo Next Page
To Next Page IconTo Next Page
To Previous Page IconTo Previous Page
To Previous Page IconTo Previous Page
Loading...
~~-~~~~~~~---
~
945424-9701
i.._Xo-xa
:-
u1-40
u1-14
DATA
CONTACT
-32
.
KEYS
-.
MATRIX
u1-13
YO-Y9
__.
Ut-17
.
26
u1-12
u1-11
SHIFT(
2)
_..
u3-9
S1
·~
u
1-20
u1-10
12
u1-9
CONTROL
MODE
-:
u3-4,
2
u1-a
KEYS
u1-7
UCL
~.13-10
U4-4
S2
-:
u
t-29
Ul-16~
-..~4-1
us
5
__;;,
REPEAT-
OPTIONAL
}
LOCK
SWITCH
{
/
AUDIO
TO
J4-4
~
OPTIONAL
L..
SPEAKER
AUDIO
U
2-5
r--
J3-1
L
FEEDBACK
"'"
CIRCUIT
(A)136265
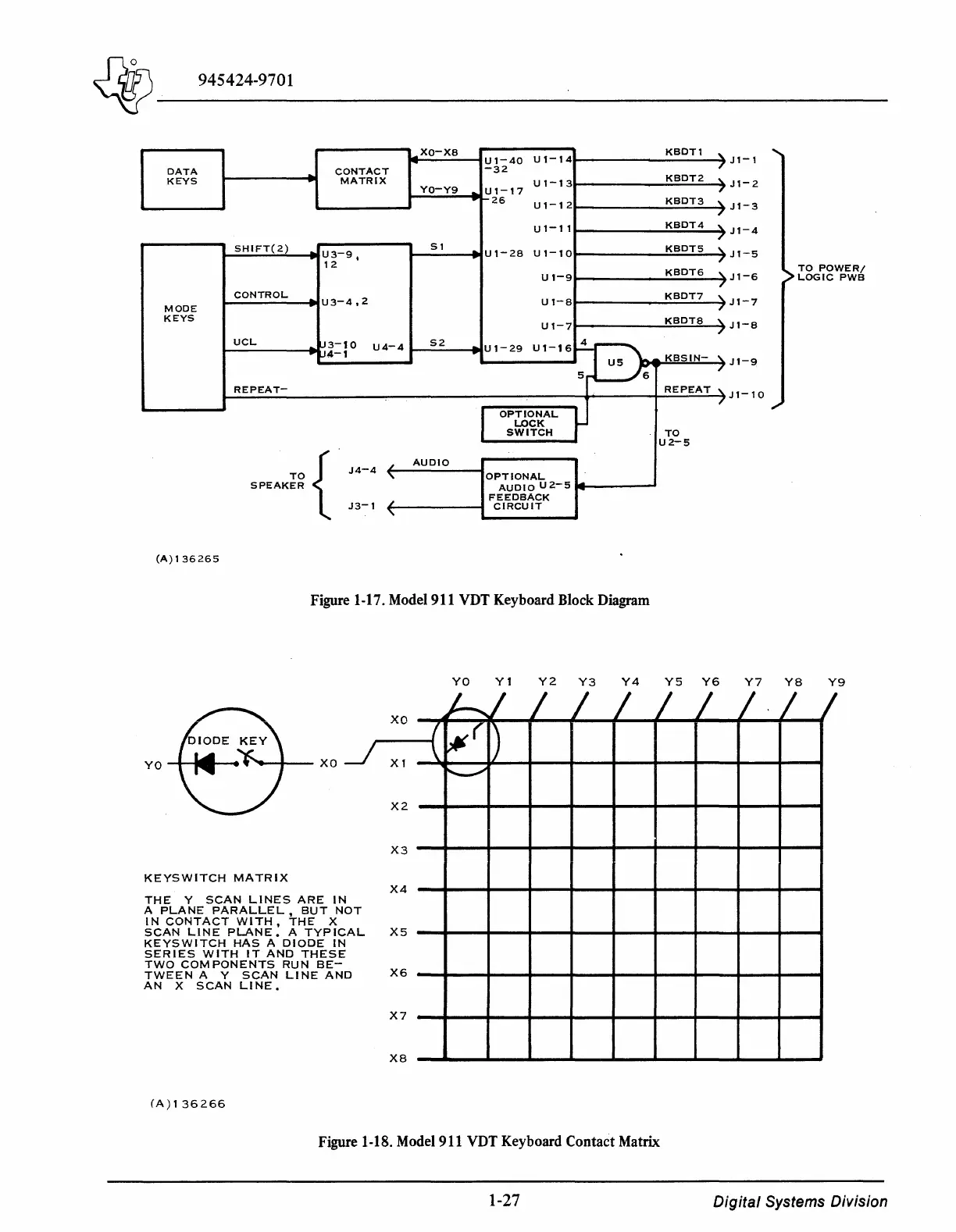
Figure 1-17. Model 911 VDT Keyboard Block Diagram
KEYSWITCH
MATRIX
OT
THE
Y
SCAN
LINES
ARE
IN
A
PLANE
PARALLEL,
BUT
N
IN
CONTACT
WITH,
THE
X
SCAN
LINE
PLANE.
A
TYPIC
KEYSWITCH
HAS
A
DIODE
IN
SERIES
WITH
IT
AND
THESE
TWO
COMPONENTS
RUN
BE-
TWEEN
A Y
SCAN
LINE
AN
AL
D
AN
X
SCAN
LINE.
(A)t
36266
XO
X1
X2
X3
X4
X5
X6
X7
X8
YO
Y1
Y2
Y3
Y4
hl
L
I
I
7
l¥7
a
l
~
KBDT1
'
7
KBDT2
_,
7
KBDT3
~
7
KBDT4
~
7
KBDT5
'
7
KBDT6
'
7
KBDT7
\.
7
KBDTB
_\.
7
KBSIN-
~
7
REPEAT_\.
7
TO
u2-s
Y5
Y6
I L
Jt-1
Jt-5
J1-6
J1-a
Jt-9
Y7
TO
POWER/
LOGIC
PWB
YB
Y9
L·L
Figure 1-18. Model 911 VDT Keyboard Contact Matrix
1-27
Digital
Systems Division

Table of Contents

Other manuals for Texas Instruments 990

Related product manuals