EasyManua.ls Logo

The Singing Machine SMC2020 - Page 40

The Singing Machine SMC2020
65 pages
Print Icon
To Next Page IconTo Next Page
To Next Page IconTo Next Page
To Previous Page IconTo Previous Page
To Previous Page IconTo Previous Page
Loading...
— S18 —
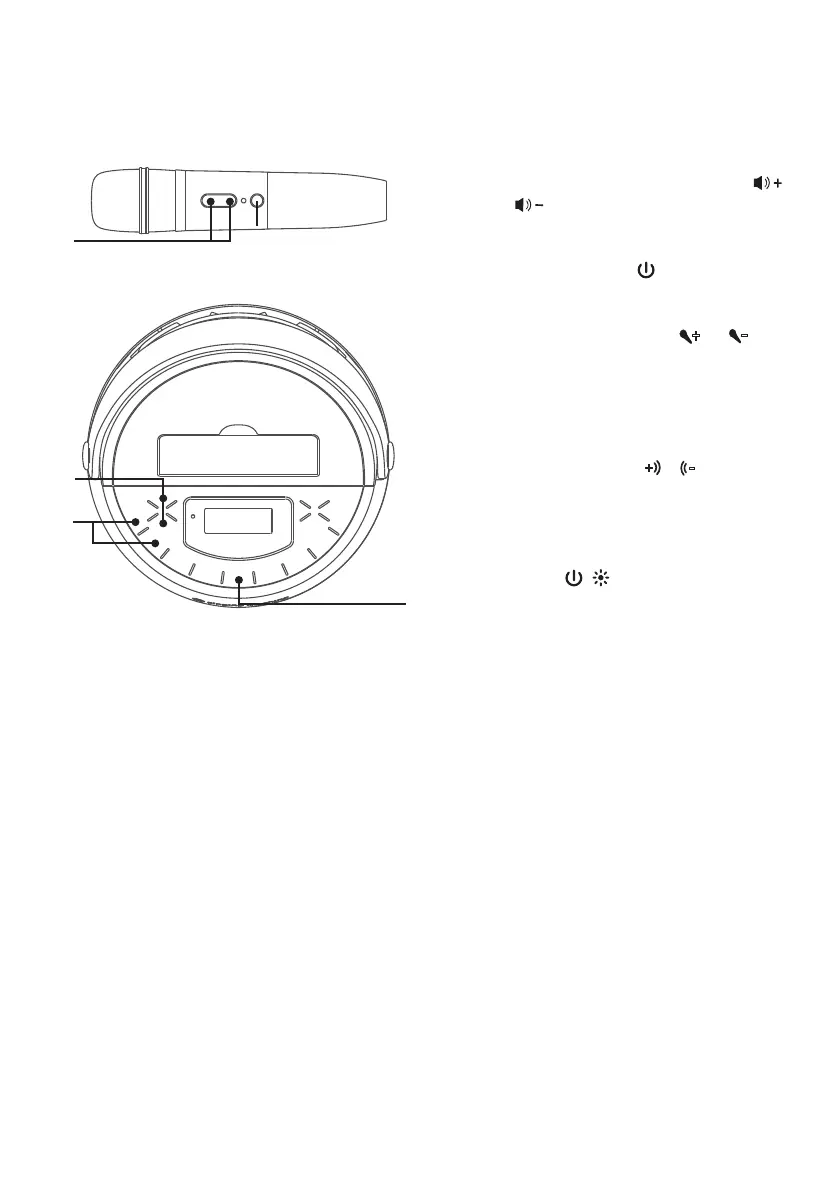
Funcionamiento
UUso del conector de ENTRADA AUXILIAR (continuación)
4
Ajuste el volumen a un nivel que le
resulte cómodo con los botones o
.
5
Oprima el botón del micrófono para
encender el micrófono.
6
Oprima los botones
+
o
-
en la
unidad o el micrófono, según lo desee.
Al aumentar el nivel de este control
aumentará el volumen del micrófono.
8
Presione el botón
+
o
-
para agregar
un efecto de eco a su voz.
9
Oprima y mantenga presionado el
botón / para apagar la unidad.
ak
U
x
y
U

Related product manuals