EasyManua.ls Logo

The Singing Machine SMC2020 - Page 61

The Singing Machine SMC2020
65 pages
Print Icon
To Next Page IconTo Next Page
To Next Page IconTo Next Page
To Previous Page IconTo Previous Page
To Previous Page IconTo Previous Page
Loading...
— F18 —
Fonctionnement
Utilisation de la prise d’entrée AUX IN (Suite)
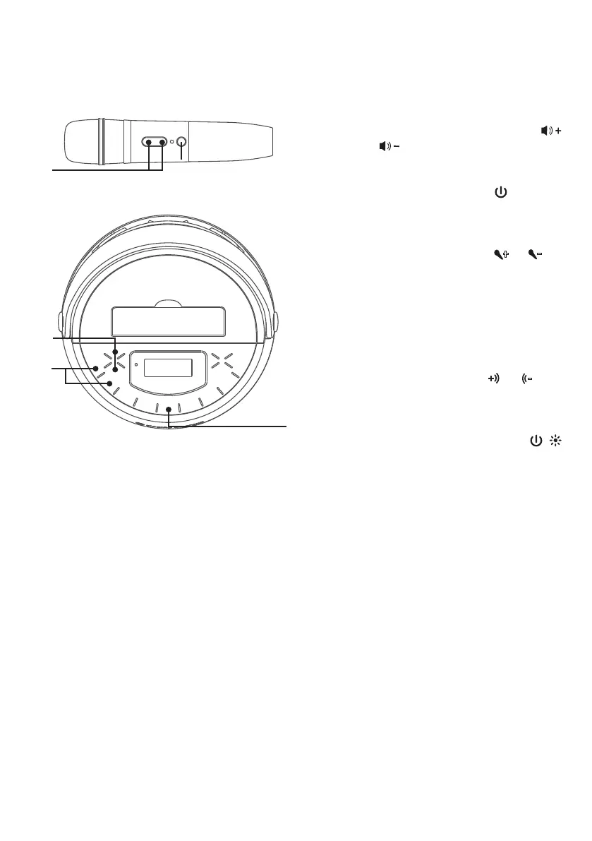
4
Réglez le volume à un niveau
confortable à l’aide des boutons
ou .
5
Appuyez sur le bouton du micro
pour l’activer.
6
Appuyez sur les boutons
+
ou
-
sur
l’appareil ou le micro pour régler au
niveau souhaité.
Le fait d’augmenter ce réglage
augmente le volume du micro.
8
Appuyez sur le bouton
+
ou
-
pour
ajouter un effet d’écho à votre voix.
9
Maintenez enfoncé le bouton /
pour mettre l’appareil hors tension.
ak
U
x
y
U