EasyManua.ls Logo

Thermo Pride OD6FA072D48R - Page 44

Thermo Pride OD6FA072D48R
76 pages
Print Icon
To Next Page IconTo Next Page
To Next Page IconTo Next Page
To Previous Page IconTo Previous Page
To Previous Page IconTo Previous Page
Loading...
41
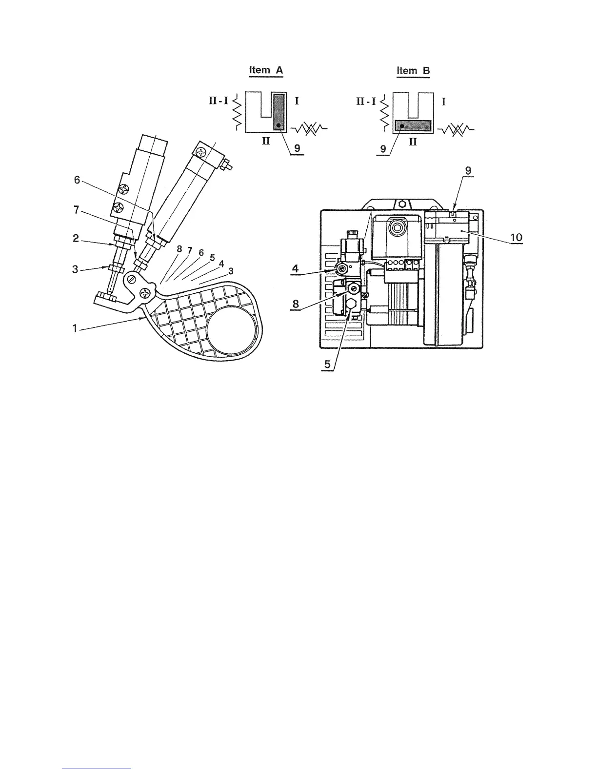
Figure 22
1
st
STAGE ADJUSTMENT:
Adjustment of air shutter: place the small plug (9) of the economizer (10) into the position I (Item A).
In this way the burner will remain permanently in the 1
st
stage.
Loosen the nut (2), turn the screw (3) until the air shutter (1) reaches the position desired. Then lock the
nut (2).
Pressure regulation: this is set at 130 psi at the factory. Should such pressure be reset or changed,
just turn the screw (4). The pressure gauge must be mounted in place of cap (5).
2
nd
STAGE ADJUSTMENT:
Adjustment of air shutter: place the small plug (9) of the economizer (10) into the position II (Item B).
In this way the burner remains permanently in the 2
nd
stage. Loosen the nut (6), turn the screw (7) until
the air shutter (1) reaches the position desired. Then lock the nut (6).
Pressure regulation: this is set at 170 psi at the factory. Should such pressure be reset or changed,
just turn the screw (8). The pressure gauge must be mounted in place of cap (5).
i. SMOKE: A smoke sample should be drawn from the heat exchanger flue passageway, which is
covered by the vent terminal. (Remove a large machine screw from the front face of the vent terminal
for direct access to the flue through the opening.) If the first smoke reading is zero (0), close the air
band, or shutter, on the burner until a trace smoke reading is measured.
NOTICE: To achieve proper combustion and the efficiencies listed in sales
brochures, instruments must be used to secure CO
2
or O
2
readings.

Related product manuals