EasyManua.ls Logo

ThinkPad T60 - Page 101

ThinkPad T60
222 pages
Print Icon
To Next Page IconTo Next Page
To Next Page IconTo Next Page
To Previous Page IconTo Previous Page
To Previous Page IconTo Previous Page
Loading...
2
3
3
2
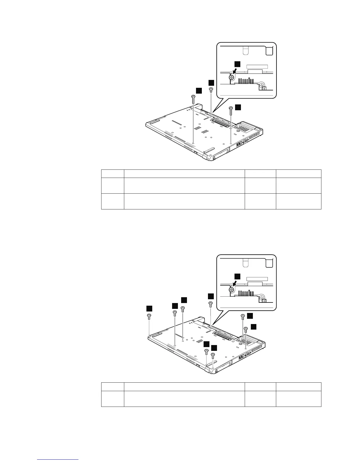
Step Screw (quantity) Color Torque
2 M2 × 14 mm, flat-head, nylon-coated (2) Black 0.167 Nm
(1.7 kgfcm)
3 M2 × 3.5 mm, flat-head, nylon-coated (1) Black 0.167 Nm
(1.7
kgfcm)
Note: For the 14.1-in. LCD models, skip step 4. Steps later 5 are common for
the 14.1-in. LCD models and 15.0-in. LCD models.
For models with 15.0-in. LCD:
1
1
1
1a
1
1
1
1
1a
Step Screw (quantity) Color Torque
1,
1a
M2 × 5 mm, flat-head, nylon-coated (8) Black 0.167 Nm
(1.7 kgfcm)
(continued)
Removing and replacing a FRU
ThinkPad T60 and T60p 95

Table of Contents

Related product manuals