EasyManua.ls Logo

Timeguard TRT035N - Page 11

Timeguard TRT035N
20 pages
Print Icon
To Next Page IconTo Next Page
To Next Page IconTo Next Page
To Previous Page IconTo Previous Page
To Previous Page IconTo Previous Page
Loading...
10
The Copy function can be used to duplicate Start time/temperature periods,
as detailed further in the instructions (read the instructions in full before
you begin).
10.1 To programme or modify the time/temperature periods, press and hold
the Set button for 3 seconds to enter the programming entry mode.
The display light will illuminate
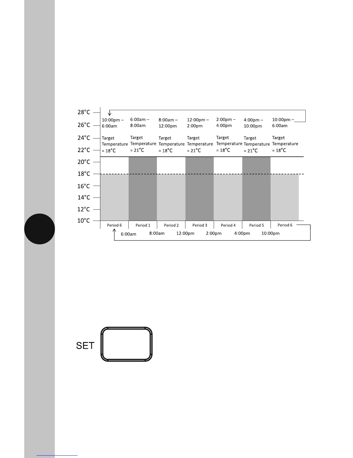
There are 6 time/temperature controlled periods, and the default programme
for every day is as follows;
06:00AM 21°C
08:00AM 18°C
12:00PM 21°C
02:00PM 18°C
04:00PM 21°C
10:00PM 18°C
Press and hold the Set button for 3 seconds
to enter programming mode.

Related product manuals