EasyManua.ls Logo

Toa M-9000M2 - SETTINGS AND CONFIGURATION MENUS; Setting Menu Navigation Flow

Toa M-9000M2
160 pages
Print Icon
To Next Page IconTo Next Page
To Next Page IconTo Next Page
To Previous Page IconTo Previous Page
To Previous Page IconTo Previous Page
Loading...
50
10. SETTINGS
Use the VFD screen, keys, and Parameter setting knob on the unit's front panel to make settings.
Settings are categorized into two types of items: Items recommended to be set before operation (input
settings, audio output settings, and UTILITY settings), and items that limit the front panel's key and knob
operation (keylock settings, which are a part of UTILITY settings). If settings have been made before
operation, all such settings can be stored using a Scene memory function. Ongoing paging calls are forced to
terminate if paging function-related setting is changed during paging calls. Note that paging is not interrupted if
settings other than paging function are changed.
All settings that can be made at the unit can also be made using the supplied dedicated software. (Refer to
the separate setting software instruction manual.)
10.1. Setting Menu Configuration and Flow for Entering Each Screen
The setting menu consists of four major setting items: Input setting, Output setting, UTILITY setting, and
Scene memory setting. The method to enter each setting screen differs as shown below.
Refer to each individual setting flow chart for details such as the parameter settings and key operations to shift
the screen.
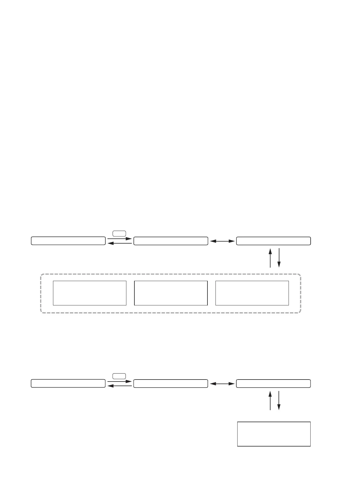
10.1.1. Input setting configuration
Set paging ON/OFF, input sensitivity, and bass/treble parameters for each individual input channel.
Pressing the Input channel selection key (1 - 8) corresponding to the desired channel number at the normal
use state screen allows you to enter its input channel setting screen. Setting items differ depending on the
modules used for input channels.
1
INPUT SELECT
0 1 S C E N E 1
I N
1 I N 1 : O F F
I N
1 I N 1 : O N 0. 0 d B
Each individual item setting
Setting for the channel on
which the ZP-001T is used
(Refer to p. 54)
Setting for the channel on
which the AN-001T is used
(Refer to p. 55)
Setting for the channel on
which the D-001T/R is used
(Refer to p. 52)
10.1.2. Output setting configuration
Set parameters such as bass/treble, equalizer, and compressor for each individual output channel.
Press the Output channel selection key several times at the normal use state screen to display the desired
channel number. The display proceeds to its output channel setting screen.
OUTPUT SEL
0 1 S C E N E 1
O U
T 1 O U T 1 : O F F
O U
T 1 O U T 1 : O N 2 0. 0 d B
Each individual item setting
Refer to p. 68.

Table of Contents

Other manuals for Toa M-9000M2

Related product manuals