EasyManua.ls Logo

Topcon OMS-800 - Page 41

Topcon OMS-800
109 pages
Print Icon
To Next Page IconTo Next Page
To Next Page IconTo Next Page
To Previous Page IconTo Previous Page
To Previous Page IconTo Previous Page
Loading...
40
PREPARATIONS BEFORE USE
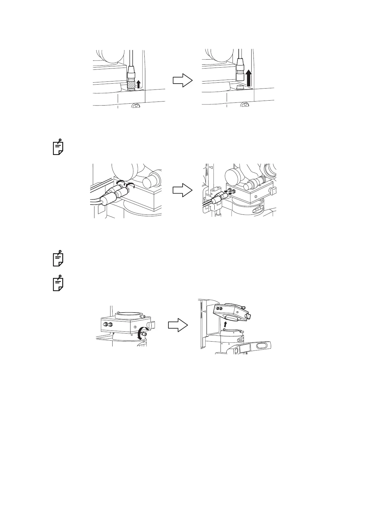
2 Remove the connector (on the lens barrel side) of the connecting cable. Pull up the connector as
sliding its end section (shadowed section as shown below) upward.
3 Remove the connector (on the inverter side) of the connecting cable. Loosen the tightening ring
at the connector's end section and then remove the connector.
We recommend storing the removed connecting cable in the inverter's carry case.
4 Loosen the eyepiece lens/beam splitter fixing knob on the operation microscope OMS-800 and
then remove the inverter from the microscope.
We recommend using a hexagonal screwdriver.
We recommend storing the removed inverter in the inverter's carry case.

Table of Contents

Related product manuals