EasyManua.ls Logo

Toro eTimeCutter 75841 - Control Panel

Toro eTimeCutter 75841
76 pages
Print Icon
To Next Page IconTo Next Page
To Next Page IconTo Next Page
To Previous Page IconTo Previous Page
To Previous Page IconTo Previous Page
Loading...
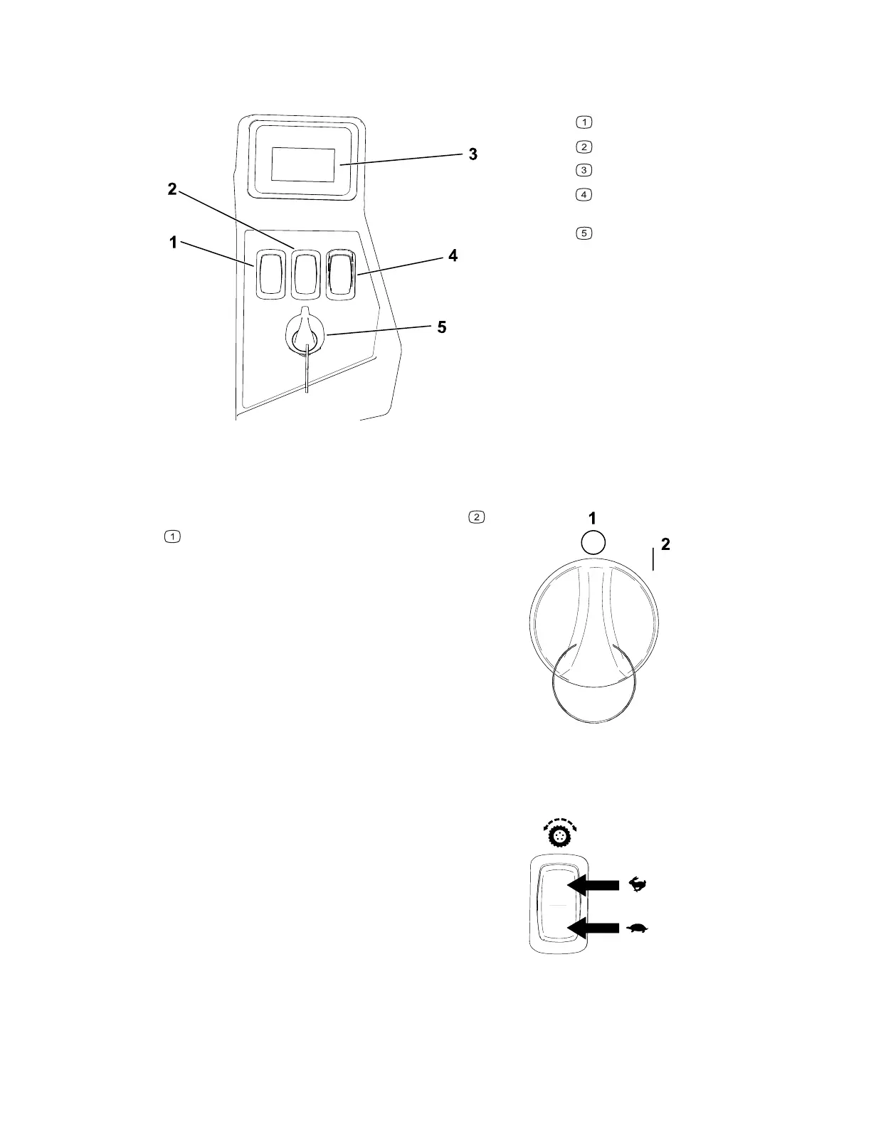
Control Panel
Become familiar with all the controls before you start and operate the machine.
G427498
Blade-speed switch
Traction-speed switch
Information display
Blade-control switch (power
takeoff)
Key switch
Key Switch
G444702
Use the key switch to power the machine ON or
O
FF . Turn the key past the ON position to start
the machine.
Traction-Speed Switch
G428592
Use the traction-speed switch to select a faster or
slower ground speed.
3463-565A Page 3–2 Product Overview: Control Panel

Table of Contents