EasyManua.ls Logo

Trane TR200 - Wire and Cable Access

Trane TR200
86 pages
To Next Page IconTo Next Page
To Next Page IconTo Next Page
To Previous Page IconTo Previous Page
To Previous Page IconTo Previous Page
Loading...
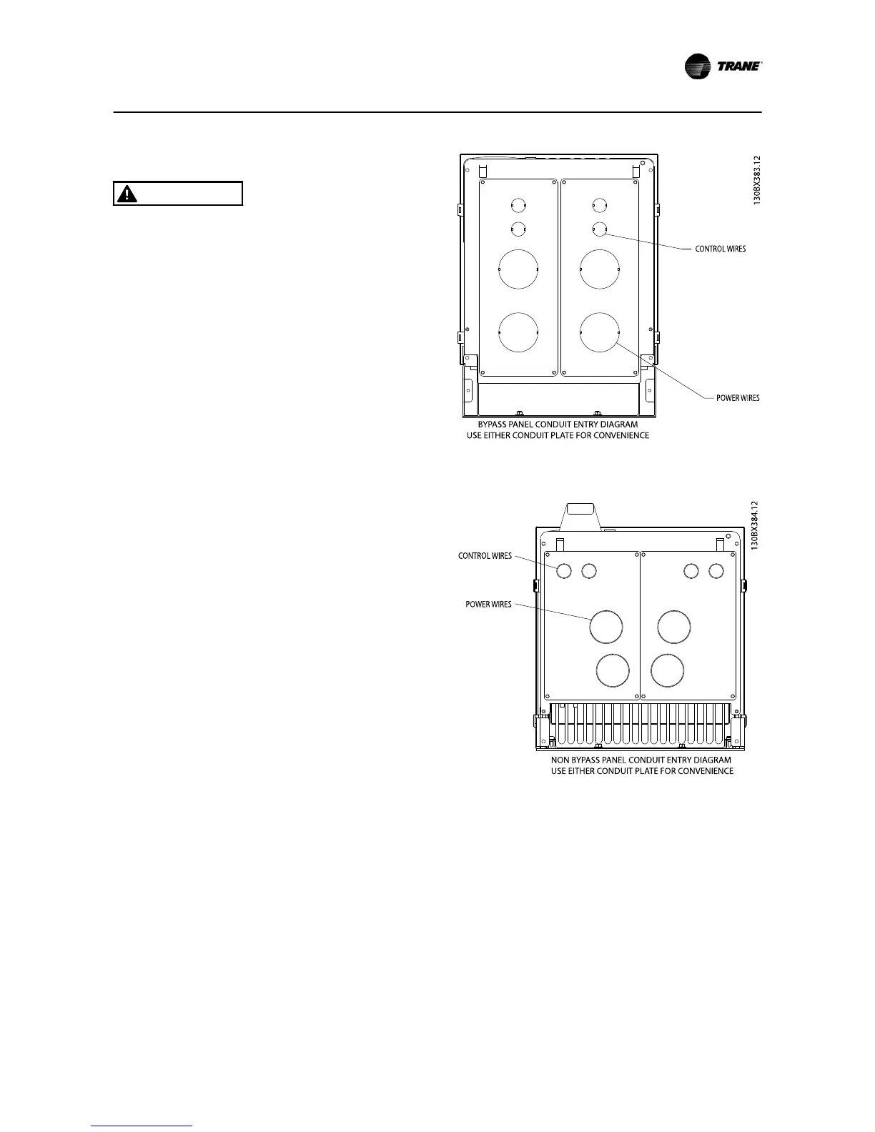
3.4.2 Wire and Cable Access
WARNING
Hazardous Voltage!
Disconnect all electric power, including remote disconnects
before servicing. Follow proper lockout/tagout procedures
to ensure the power cannot be inadvertently energized.
Failure to disconnect power before servicing could result in
death or serious injury.
Refer to through for wire routing and termination
locations.
Removable access knockout covers are provided
for cable connections (see Figure 3.13 and
Figure 3.14).
Access holes are provided for input power, motor
leads, and control wiring.
Run input power, motor wiring, and control
wiring in three separate conduits for isolation.
NOTE!
IMPORTANT NOTE
RUN INPUT POWER, MOTOR WIRING AND CONTROL
WIRING IN THREE SEPARATE METALLIC CONDUITS OR
RACEWAYS FOR HIGH FREQUENCY NOISE ISOLATION.
FAILURE TO ISOLATE POWER, MOTOR AND CONTROL
WIRING COULD RESULT IN LESS THAN OPTIMUM DRIVE
AND ASSOCIATED EQUIPMENT PERFORMANCE.
The drive always resides in the upper section of
the panel. Connections to the ECB and EMB2 are
in this area except on the P2 bypass panels.
Power connections are typically towards the
bottom side of the panel.
Control wiring should be isolated from power
components inside the unit as much as possible.
Trane has included hardware to allow for the
separation.
See the mechanical layout drawings in through
for connection details and recommended wire
routing.
Figure 3.13 Bypass Panel Conduit Entry Diagram
Figure 3.14 Non Bypass Panel Conduit Entry Diagram
Installation
BAS-SVX49A-EN 3-15

Table of Contents

Other manuals for Trane TR200

Related product manuals