EasyManua.ls Logo

TREND CRT/MK3 - Mounting Router to Insert Plate

TREND CRT/MK3
32 pages
Print Icon
To Next Page IconTo Next Page
To Next Page IconTo Next Page
To Previous Page IconTo Previous Page
To Previous Page IconTo Previous Page
Loading...
-10-
CRT/MK3
Re-drilling Router Base Only
Q Invert and stand your router onto a suitable
surface.
Q Remove insert plate from table and place it
facing upwards onto the base of your router.
Q Adjust position of the insert plate to centralise.
Q Ensure that the holes you are about to drill in
the base (using the TBC holes in the insert
plate) do not interfere with any of the features
on the router or any webbings in the casting of
the router base. A slight turning of the router
may be required to miss such obstructions.
Q Mark the centre of the holes onto the base.
Q Remove insert plate and mark the centre of the
holes with a centre punch.
Q Drill a hole at these points with a 6mm
diameter drill bit.
Q Clean up edges of holes if required.
Re-drilling Insert Plate Only
Q Remove insert plate from table.
Q Remove the plastic base of the router.
Alternatively a photocopy or an outline of the
base can be made of the plastic base instead.
Q Align the centre of the insert plate to the router
base and secure them together.
Q Using a centre punch, mark the centres of
holes.
Q Drill the required hole size with a suitable
metal cutting drill bit. Best results will be
obtained if your power drill is mounted in a drill
stand.
Q Countersink the hole with a countersink bit to
a depth so the heads of the screws are slightly
below the top surface. Clean off any burrs
created.
Re-drilling both Insert Plate
and Router Base
Q Invert the router and lay the insert plate onto
the upturned base.
Q Clamp the insert plate and router base
together with two cramps.
Q Ensuring that the drill bit will not foul any
webbing or fixtures on the router base, drill
with a 6mm diameter metal cutting drill bit into
the insert plate and through the router base
two holes.
Q Unclamp the router base and insert plate.
Q Countersink the insert plate holes with a
countersink bit to a depth so the screw heads
are slightly below the top surface. Clean off
any burrs created on both the insert plate and
router base.
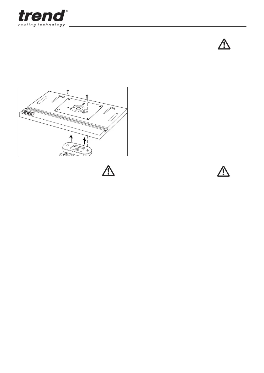
Mounting Router to Insert Plate
Invert and stand your router onto a suitable
surface. Remove insert plate from table and place
it facing upwards onto the base of your router.
Screws are supplied for TBC routers, see chart on
previous page. Use Phillips
®
No.2 screwdriver.
-10-
CRT/MK3CRT/MK3
Re-drilling Router Base Only
Q Invert and stand your router onto a suitable
surface.
Q Remove insert plate from table and place it
facing upwards onto the base of your router.
Q Adjust position of the insert plate to centralise.
Q Ensure that the holes you are about to drill in
the base (using the TBC holes in the insert
plate) do not interfere with any of the features
on the router or any webbings in the casting of
the router base. A slight turning of the router
may be required to miss such obstructions.
Q Mark the centre of the holes onto the base.
Q Remove insert plate and mark the centre of the
holes with a centre punch.
Q Drill a hole at these points with a 6mm
diameter drill bit.
Q Clean up edges of holes if required.
Re-drilling Insert Plate Only
Q Remove insert plate from table.
Q Remove the plastic base of the router.
Alternatively a photocopy or an outline of the
base can be made of the plastic base instead.
Q Align the centre of the insert plate to the router
base and secure them together.
Q Using a centre punch, mark the centres of
holes.
Q Drill the required hole size with a suitable
metal cutting drill bit. Best results will be
obtained if your power drill is mounted in a drill
stand.
Q Countersink the hole with a countersink bit to
a depth so the heads of the screws are slightly
below the top surface. Clean off any burrs
created.
Re-drilling both Insert Plate
and Router Base
Q Invert the router and lay the insert plate onto
the upturned base.
Q Clamp the insert plate and router base
together with two cramps.
Q Ensuring that the drill bit will not foul any
webbing or fixtures on the router base, drill
with a 6mm diameter metal cutting drill bit into
the insert plate and through the router base
two holes.
Q Unclamp the router base and insert plate.
Q Countersink the insert plate holes with a
countersink bit to a depth so the screw heads
are slightly below the top surface. Clean off
any burrs created on both the insert plate and
router base.
Mounting Router to Insert Plate
Invert and stand your router onto a suitable
surface. Remove insert plate from table and place
it facing upwards onto the base of your router.
Screws are supplied for TBC routers, see chart on
previous page. Use Phillips
®
No.2 screwdriver.

Other manuals for TREND CRT/MK3