EasyManua.ls Logo

TREND T3 - ASSEMBLY & ADJUSTMENT

TREND T3
21 pages
Print Icon
To Next Page IconTo Next Page
To Next Page IconTo Next Page
To Previous Page IconTo Previous Page
To Previous Page IconTo Previous Page
Loading...
-7-
Fitting and Removing the
Dust Extractor Spout
Insert the extractor spout (1) into the base of
the router.
Fit the two countersunk headed screws (2)
from beneath and screw-on into the
captivated nuts in the spout.
Dismantle in reverse order.
The extractor spout is suitable for dust
extractors with a hose diameter of 35mm.
T3
ASSEMBLY & ADJUSTMENT
35mm
2
1
1
2
6
3
4
5
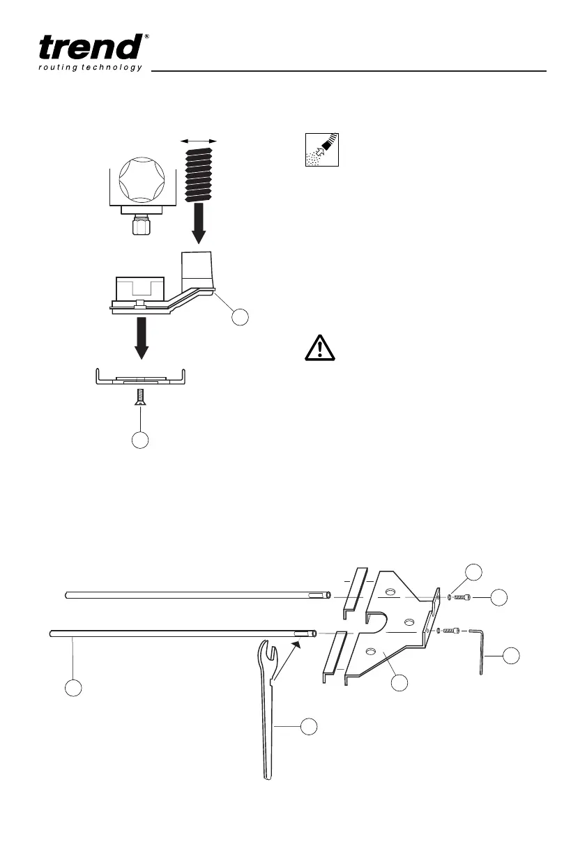
Fence Assembly
Fit the spring washers (1) over the socket
head screw (2) and pass the screw through
the fence (3).
Screw the side fence rod (4) onto the screw
and tighten by hand.
Use the cut-out in the side of the 17mm
spanner (5) to hold the flat on the rod while
tightening the screw with the hex key (6).
Repeat for other rod assembly.
Whenever possible use the
dust extraction spout with a
suitable extractor when
routing.

Related product manuals