EasyManua.ls Logo

Triplett SL600-KIT - Meter Description; Side Panel

Triplett SL600-KIT
12 pages
Print Icon
To Next Page IconTo Next Page
To Next Page IconTo Next Page
To Previous Page IconTo Previous Page
To Previous Page IconTo Previous Page
Loading...
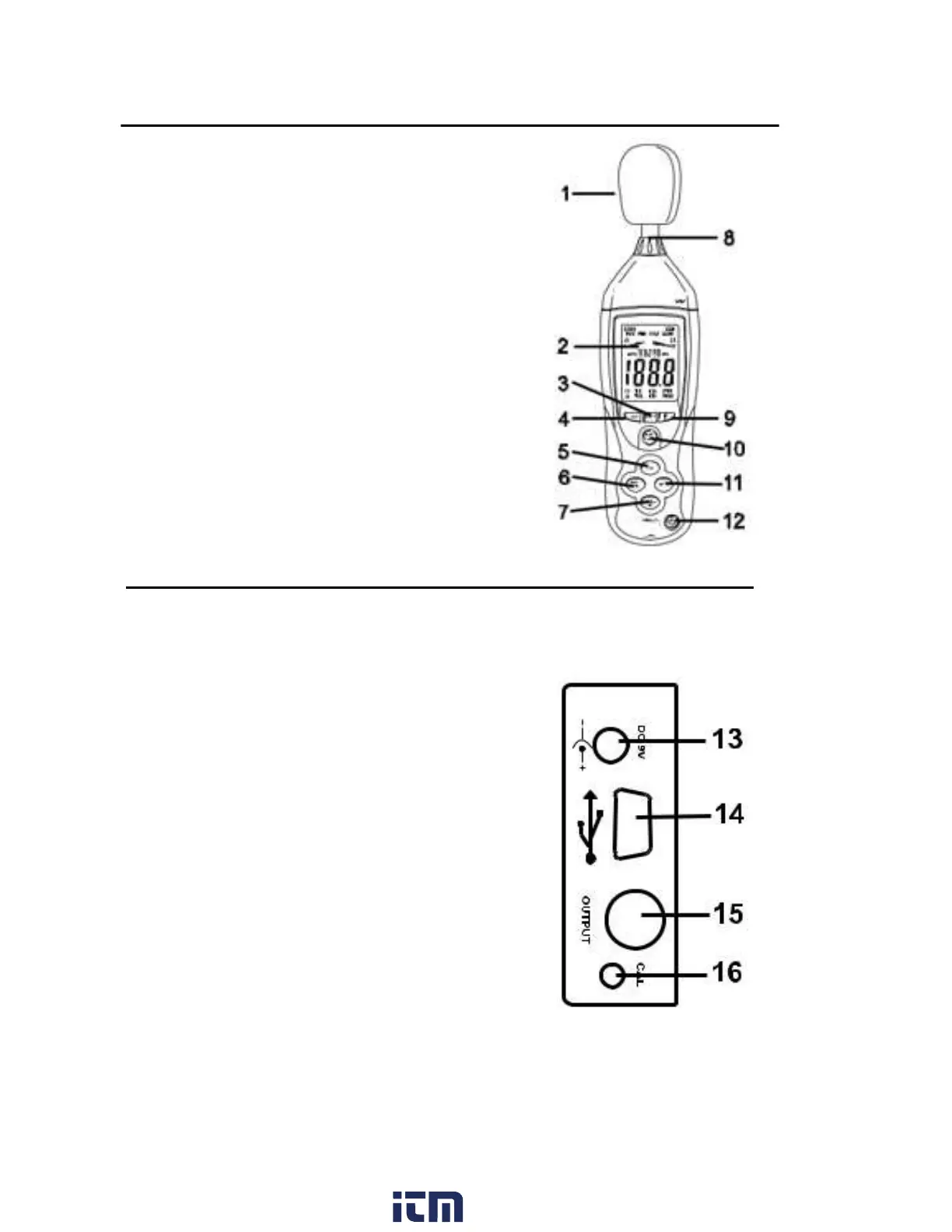
Meter Description
1. Windscreen
2. LCD Display
3. Setup-button:
4. Record button
5. A/C weighting
6. Max/Min display
7. Range button
8. Microphone
9. Backlight
10. Fast/Slow response
11. HOLD
12. ON/OFF
NOTE: Battery Compartment and Tripod Mount are at the rear
SIDE PANEL
13. External 9VDC power adaptor
14. USB pc port
15. DC/AC analog output
16. CAL potentiometer
w ww. . com
information@itm.com1.800.561.8187