EasyManua.ls Logo

Ulvac G-20DA - Dimensional Drawings(G-20 DA,25 SA,50 DA,50 SA); Fig-1 General Assembly Drawing of G-20 DA; Fig-2 General Assembly Drawing of G-25 SA

Default Icon
44 pages
Print Icon
To Next Page IconTo Next Page
To Next Page IconTo Next Page
To Previous Page IconTo Previous Page
To Previous Page IconTo Previous Page
Loading...
4
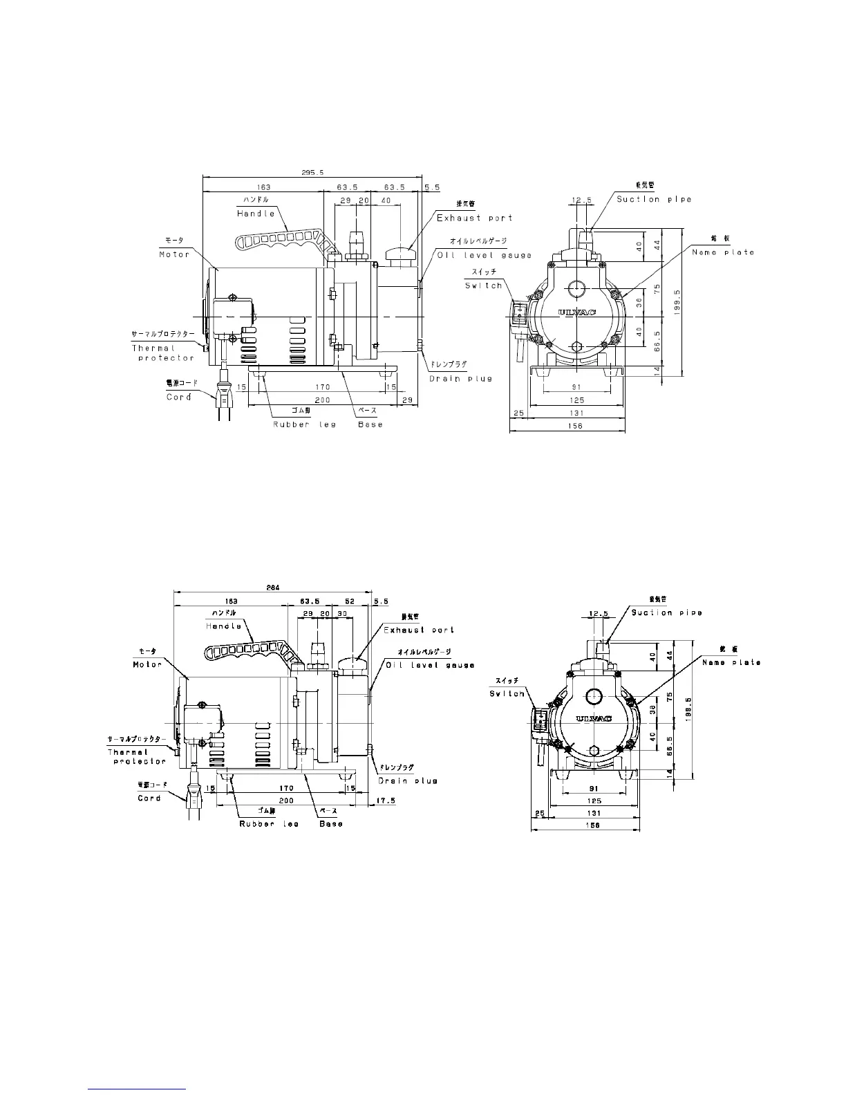
2.2 Dimensional Drawings
Motor ; Single phase, 100V(50/60Hz), 100W, 4Poles,Split phase starting
Weight ; 9.0 kg(with motor)
Fig-1 General Assembly Drawing of G-20DA
Motor ; Singhle phase, 100V(50/60Hz), 100W, 4Poles, Split phase starting
Weight ; 8.5kg(with motor)
Fig-2 General Assembly Drawing of G-25SA

Related product manuals