EasyManua.ls Logo

USFilter V-2000 - Page 73

Default Icon
126 pages
Print Icon
To Next Page IconTo Next Page
To Next Page IconTo Next Page
To Previous Page IconTo Previous Page
To Previous Page IconTo Previous Page
Loading...
IM 25.055AC UA (C/6-01)
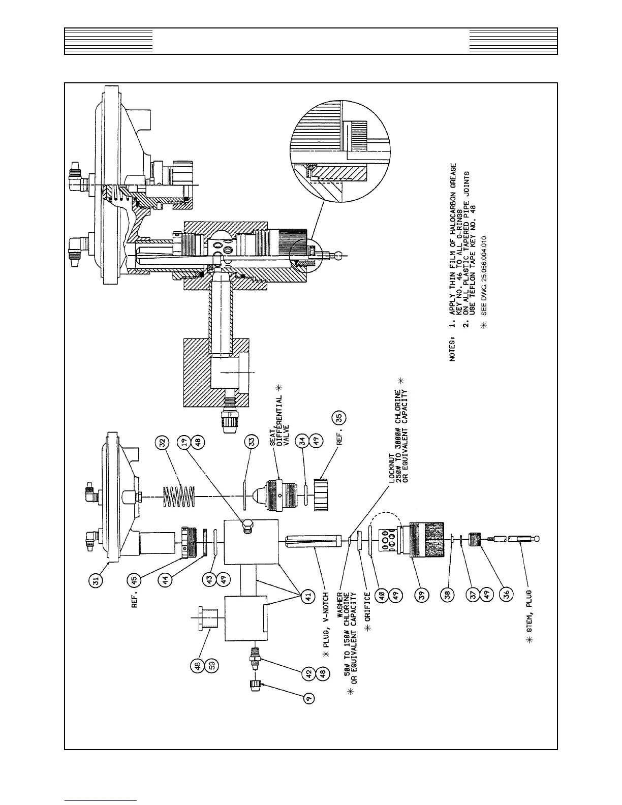
AUTOMATIC CHLORINATOR - 3000LB/24HR
63
SERIES V-2000 GAS FEEDER - PARTS
25.055.000.052B
ISSUE 1 02-00
NOTE: FOR PARTS LIST, SEE
DWGS. 25.055.000.052C&D.