EasyManua.ls Logo

Utilitech 148012 - Page 35

Utilitech 148012
40 pages
Print Icon
To Next Page IconTo Next Page
To Next Page IconTo Next Page
To Previous Page IconTo Previous Page
To Previous Page IconTo Previous Page
Loading...
T de descarga
Tapón de ventilación
Abertura del tapón
de ventilación
Abertura del
tapón de
cebado
2
Tapón de ventilación
tapón de cebado o
el indicador de presión
Tubo de
succión
1
Cable
desde
el motor
Cable desde
el suministro
de electricidad
Tornillos de puesta a tierra
Alambre
de tierra
eléctrica
verde
5
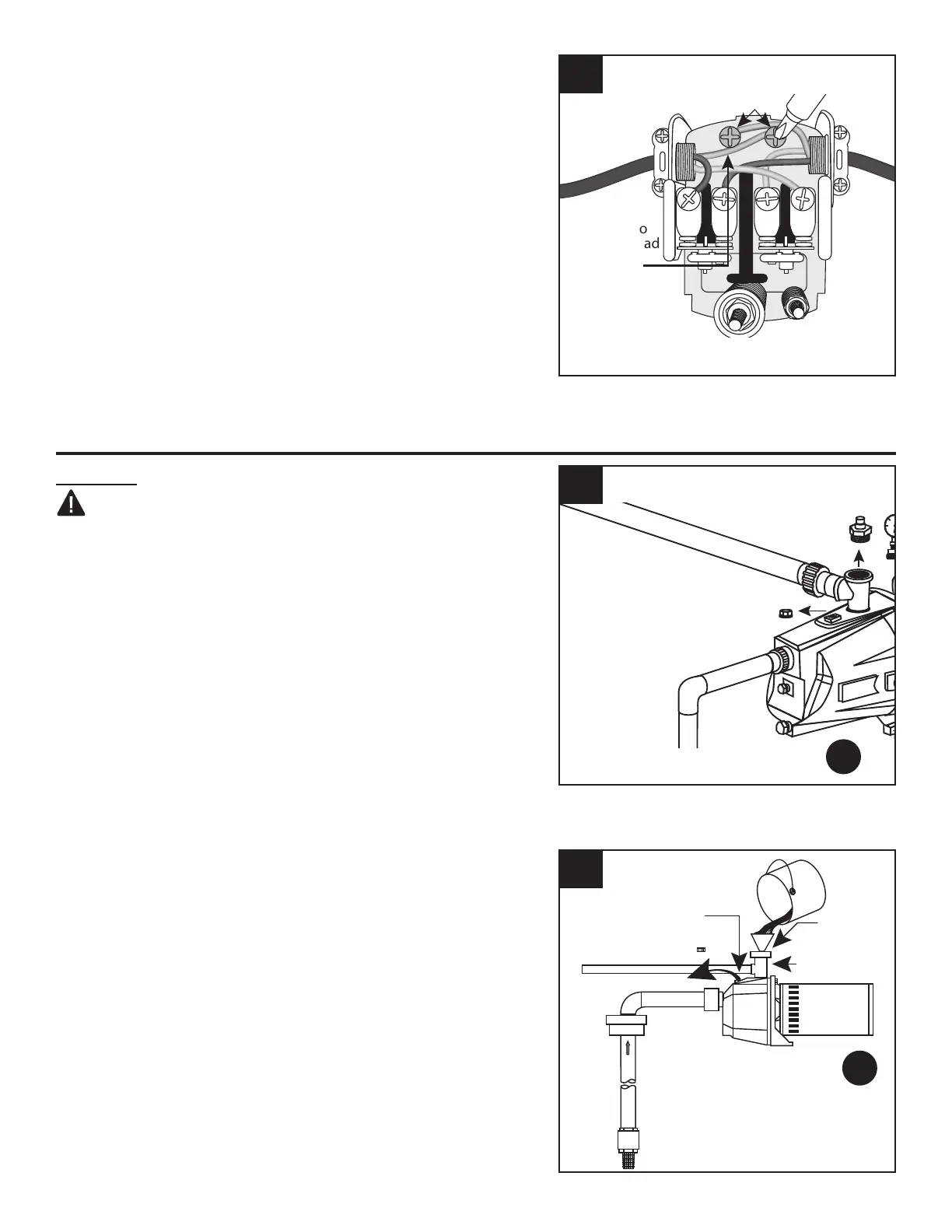
5. Conecte el conductor de puesta a tierra
verde del suministro de electricidad al
tornillo de puesta a tierra verde que queda
en el interruptor de presión y vuelva a
colocar la cubierta del interruptor de presión.
CEBADO Y ARRANQUE DE LA
BOMBA
CEBADO
PRECAUCIÓN: todas las bombas deben
cebarse (llenado de la cavidad con agua) antes
de hacerlas funcionar por primera vez. Para
esto podrían necesitarse varios litros de agua,
ya que debe llenarse el tubo de succión y la
cavidad de la bomba (A).
1. Retire el tapón para tubería o el indicador
de presión (no se incluye) ubicado en la
parte superior del conector de descarga y
el tapón de ventilación ubicado en la parte
frontal del conector de descarga.
A
2. Llene lentamente el conector de descarga
con agua hasta que se desborde de la
abertura del tapón de ventilación. Vuelva a
colocar el tapón de ventilación sin apretarlo.
NOTA: el llenado completo de la bomba (A) y el
tubo de succión demorará varios minutos.
A
35

Related product manuals