EasyManua.ls Logo

Vertiv Liebert PPC - Figure 14 Typical Grounding Arrangements

Vertiv Liebert PPC
52 pages
Print Icon
To Next Page IconTo Next Page
To Next Page IconTo Next Page
To Previous Page IconTo Previous Page
To Previous Page IconTo Previous Page
Loading...
Vertiv | Liebert
®
PPC
User Manual | Rev. 6 | 03/18 | 23
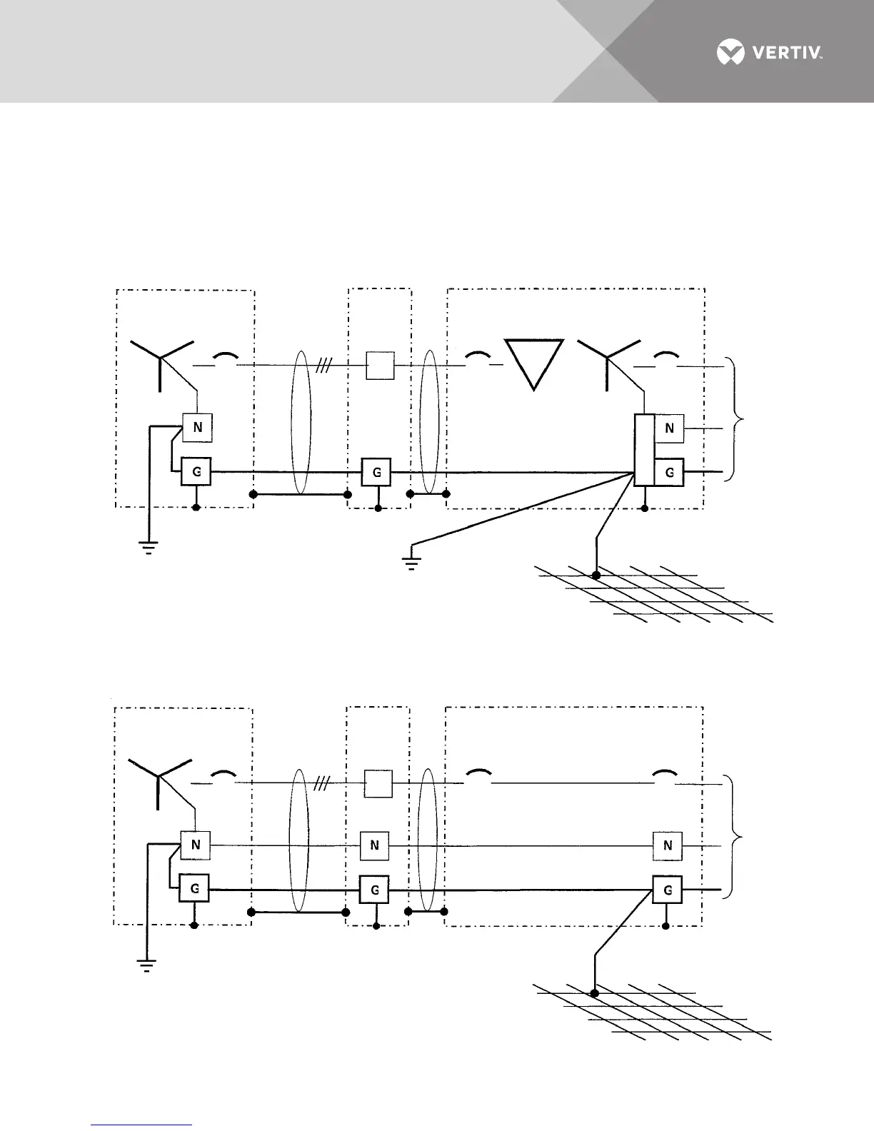
Recommended methods for running the grounding electrode conductor (arranged by preference for system
performance; as permissible by local and other applicable codes):
1. Outside of conduit (where not subject to damage)
2. Inside non-metallic conduit
3. Inside non-ferrous conduit
4. Inside ferrous conduit, bonded to the ferrous conduit at both ends, as acceptable by local and other applicable codes
Figure 14 Typical grounding arrangements
Local grounding
electrode
conductor per
NEC 250-26
Service
Entrance
Liebert PPC
(without transformer)
Service entrance
grounding electrode
system
Signal reference grid
(if used)
TYPICAL LIEBERT PPC
WITHOUT TRANSFORMER GROUNDING ARRANGEMENT
Input
J-Box
(if used)
TYPICAL LIEBERT PPC
WITH TRANSFORMER GROUNDING ARRANGEMENT
Liebert PPC
(with transformer)
Output
Service
Entrance
Input
J-Box
(if used)
Output
Service entrance
grounding electrode
system
Signal reference grid
(if used)

Table of Contents