EasyManua.ls Logo

Victory RS - Shelf Installation

Victory RS
29 pages
Print Icon
To Next Page IconTo Next Page
To Next Page IconTo Next Page
To Previous Page IconTo Previous Page
To Previous Page IconTo Previous Page
Loading...
User Manual for RS and RSA Refrigerators Victory
Rev. 07/24Victory10
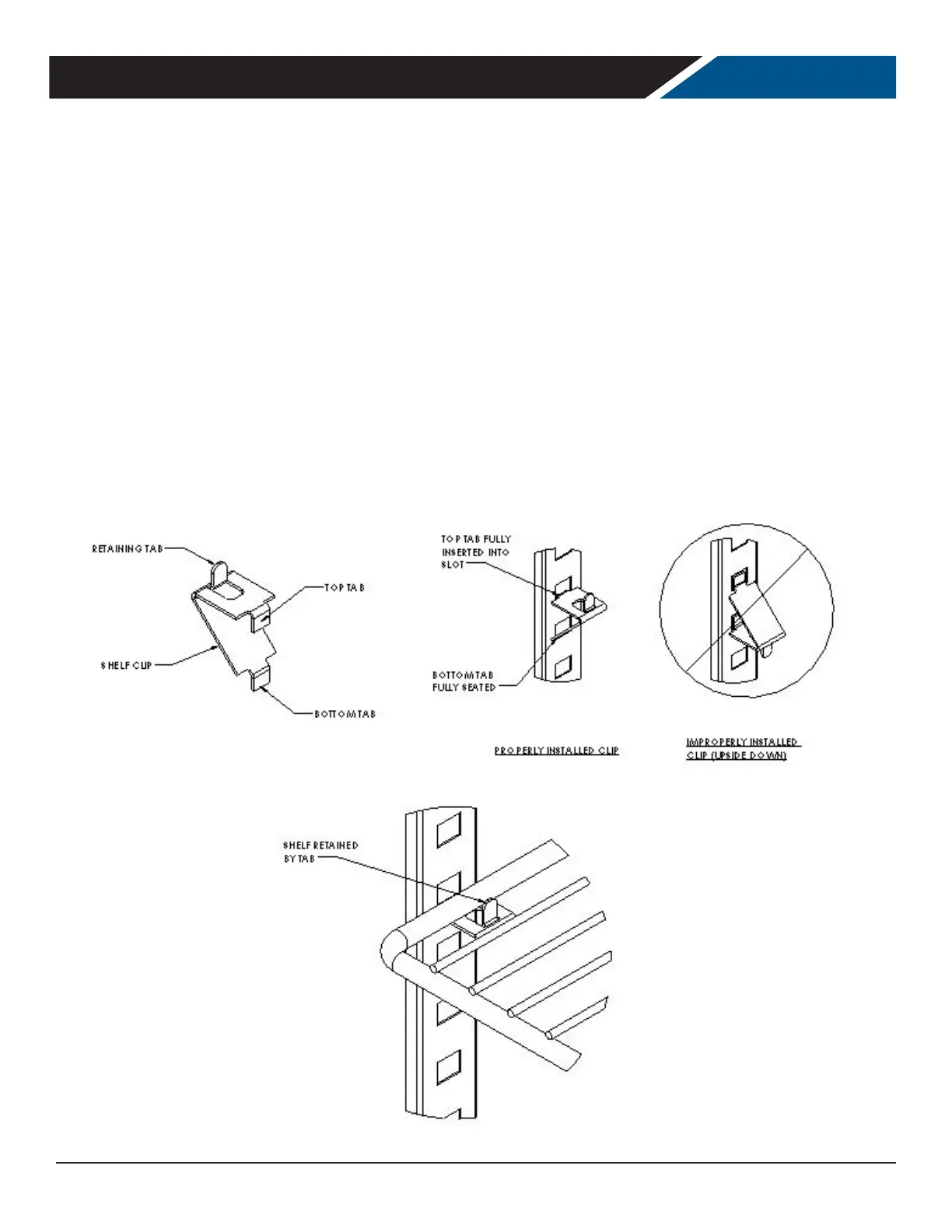
1. Determine the proper location for the shelf clips.
2. Insert the top tab of the shelf clip into the desired
hole of the pilaster. The retaining tab MUST be facing
up as shown.
3. Rotate the clip downwards and insert the bottom tab
into the matching hole in the pilaster. The clip may
need to be squeezed slightly during installation.
4. Install all remaining clips.
5. Install shelves onto clips with the product retention
bar facing up. Be careful not to dislodge clips during
installation.
6. Place shelves so that the retaining tab on the clip
captures the shelf as shown.
7. Conrm that the shelf is resting on ALL 4 clips and
that the clips are securely attached to the pilasters.
8. Improper shelf clip installation could cause the shelf
and / or the product on it to fall, resulting in damage
to the unit and possible bodily injury.
9. Do NOT overload the shelves. The unit is designed to
use all shelves that are supplied in an equally spaced
manner. Contact Victory customer service if fewer
shelves or a dierent conguration to ensure shelf
overloading will not occur.
SHELF INSTALLATION

Related product manuals