EasyManua.ls Logo

Viessmann VITOTROL 200A - Connecting Multiple Remote Units

Viessmann VITOTROL 200A
16 pages
Print Icon
To Next Page IconTo Next Page
To Next Page IconTo Next Page
To Previous Page IconTo Previous Page
To Previous Page IconTo Previous Page
Loading...
Vitotrol 200A, Installation, Operating and Service
5583 141 v1.0
6
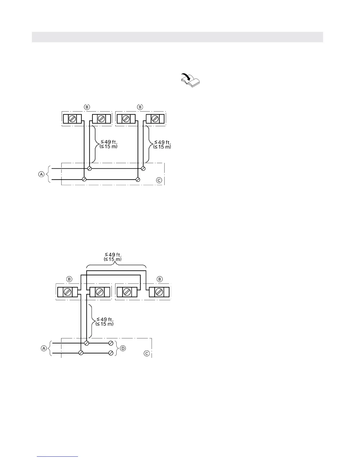
Installation
Connecting Several Remote Control Units
Refer to the Vitotrol 300A Installation
Instructions
Up to 2 remote control units can be connected to a boiler
control unit, including a combination of one Vitotrol 200A
and one Vitotrol 300A.
Version 1
H On-site connection via a junction box (field supplied):
Connect in accordance with the diagram
H Limit the total length of all KM BUS cables to
164 ft. (50 m).
Legend
A To the control unit
(see connection diagram on page 5)
B Vitotrol 200A
C Junction box (field supplied)
Legend
A To the control unit
(see connection diagram on page 5)
B Vitotrol 200A
C Junction box (field supplied)
D Further BUS participants
Version 2
H If several remote control units and additional KM BUS
users are connected, make the connections via a
junction box (field supplied) as shown in the diagram.
H Limit the total length of all KM BUS cables to
164 ft. (50 m).

Related product manuals