EasyManua.ls Logo

Volvo Penta D3 - Page 123

Volvo Penta D3
142 pages
Print Icon
To Next Page IconTo Next Page
To Next Page IconTo Next Page
To Previous Page IconTo Previous Page
To Previous Page IconTo Previous Page
Loading...
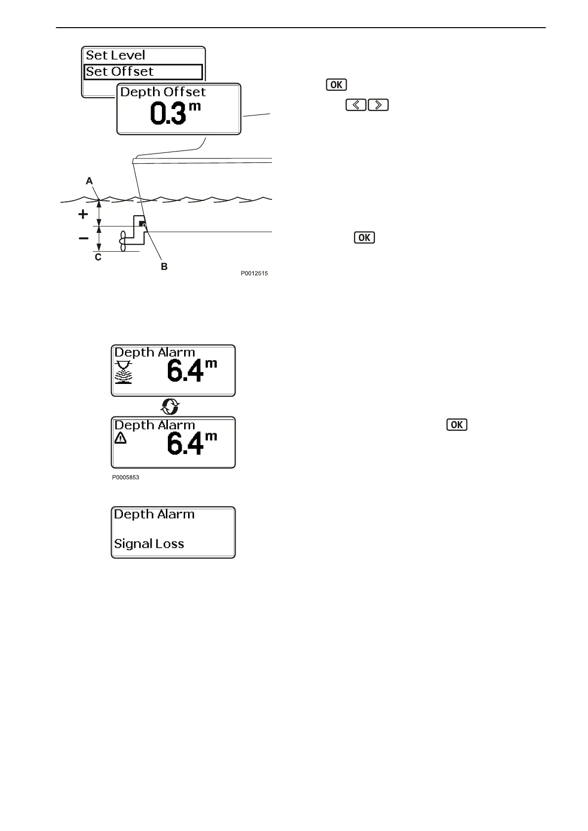
Set Offset
1 Go from the settings menu to Set Offset and press
to reach the setting.
2
Use to set the depth compensation value
so that it corresponds to the boat's lowest point or
the waterline. The echo-sounder can be placed
anywhere between these two points.
Set the echo-sounder/waterline or echo-sounder/
lowest point distance to the depth to be displayed.
The distance between the echo-sounder (B) and
the water line (A) has a positive (+) value.
The distance between the echo-sounder (B) and
the boat's lowest point (C) has a negative (–) num-
ber.
Press to confirm the setting.
Depth Alarm
When the depth is less than the alarm setting a mes-
sage will be shown on the display, followed by an audi-
ble signal.
The message will be displayed every 30 seconds until
the depth exceeds the alarm level.
Confirm the alarm by pressing
.
Signal fault
If the signal from the depth alarm is lost, e.g. if the
sensor is not working, a message is displayed stating
that the signal has been lost.
Set Offset
A Waterline
B Echo-sounder
C Lowest point
Depth Alarm
P0005855
Depth Alarm / Signal Loss
Calibration and Settings
47705992 05-2015 © AB VOLVO PENTA 121

Related product manuals