EasyManua.ls Logo

Warn CJ - Page 30

Warn CJ
39 pages
Print Icon
To Next Page IconTo Next Page
To Next Page IconTo Next Page
To Previous Page IconTo Previous Page
To Previous Page IconTo Previous Page
Loading...
Page 30 63398 D2
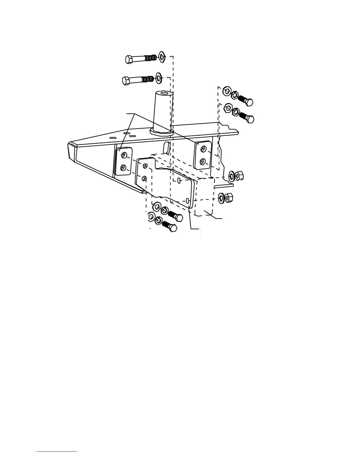
Figura 3, VEHÍCULOS YJ y TJ, VISTA DEL LADO DEL COPILOTO,
VISTA DEL LADO OPUESTO DEL CONDUCTOR, VISTA DE LOS
SOPORTES DE REFUERZO DEL BASTIDOR TJ, YJ TIENE LOS
MISMOS SEPARADORES Y PIEZAS PERO SU SOPORTE DE
REFUERZO DEL BASTIDOR ES DISTINTO.
5. Monte el soporte de la rueda en el parachoques. Esta operación debe realizarse
antes de apretar los ocho pernos del bastidor. Si realiza el montaje en un modelo
TJ, desmonte del vehículo la montura de plástico de la placa de la matrícula. Más
tarde, se recortará levemente hacia la esquina inferior. Si realiza el montaje en los
modelos TJ y YJ, será necesario desmontar todos los parachoques de goma de la
puerta trasera que trae de fábrica el vehículo a excepción del que se encuentra en
la parte superior del lado del conductor. Coloque la arandela de nailon sobre el
poste del parachoques y deslícela del todo hacia abajo. Coloque el extremo del tubo
redondo del soporte de la rueda en el poste que sobresale del parachoques del lado
del copiloto y deslícelo del todo hacia abajo. Consulte la Figura 4.
ESPACIADORES
GRUESOS DE 1/4
PULG. ENTRE EL
PARACHOQUES Y EL
BASTIDOR
PERNOS, ARANDELAS DE PRESIÓN Y
ARANDELAS DE 3/8 PULG. x 1 -1/2
PULG. POSICIONES INTERNAS DE LOS
AGUJEROS
PERNOS DE 7/16
PULG. x 3 -1/2 PULG.,
ARANDELAS
SECCIÓN DEL
BASTIDOR DE CARGA
CONJUNTO DE PARACHOQUES Y SOPORTE DE REFUERZO
DEL BASTIDOR EN EL LADO DEL COPILOTO
ARANDELAS Y
TUERCAS DE FIJACIÓN
DE 7/16 PULG.
PERNOS, ARANDELAS DE
PRESIÓN Y ARANDELAS DE
3/8 PULG. x 1 -3/4 PULG.
POSICIONES EXTERIORES DE
LOS AGUJEROS
SOPORTE DE REFUERZO
DEL BASTIDOR, LADO
DEL COPILOTO

Related product manuals