EasyManua.ls Logo

Warn CJ - Latch Mechanism Assembly

Warn CJ
39 pages
Print Icon
To Next Page IconTo Next Page
To Next Page IconTo Next Page
To Previous Page IconTo Previous Page
To Previous Page IconTo Previous Page
Loading...
Page 8 63398 D2
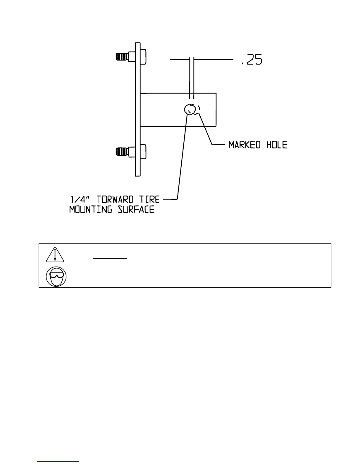
Figure 6
WARNING
Drilling operations can cause flying metal chips. WEAR SAFETY
GOGGLES. Flying metal chips can cause eye injury.
16. After drilling the hole in step 17, slip the tire mounting bracket into the tube on the
tire carrier. Using the supplied ½” x 3” bolt, washers, and lock nut, bolt the mounting
bracket to the carrier. Torque the ½” bolt to 55-60 ft/lbs.
17. Mount the tire and wheel to the tire carrier with lug nuts. Locking lugs can be used
to prevent theft.
18. Assemble the latch mechanism. Insert the handle through the hole in the top of the
tire carrier tube. Then insert the supplied coil spring through the rectangular hole in
the bottom of the tube. Insert the striker latch through the same rectangular hole.
The handle will be inserted into the ½” diameter hole in the striker. Line up the small
cross-holes in the handle and the striker. Insert the roll pin, by tapping it with a
hammer, through the hole in the striker and the handle. It should be flush on both
sides of the striker when installed fully. See Figure 7 for exploded view of
assembly.

Related product manuals